Operation CHARM: Car repair manuals for everyone.
Manuals through 2025 now available!

Our trusted friends have launched a new website named LEMON, which has newer manuals. It also contains all the CHARM manuals.

LEMON is the spiritual successor to CHARM, I recommend you try it!

Link: lemon-manuals.la or lemon-manuals.org.ua

(Some people have issue connecting. LEMON is investigating. For now, use Firefox or change your DNS server)

Or, hide this message: temporarily or permanently

Removal and Replacement




Transmission - Rear Wheel Drive (RWD)









Installation

NOTE: Prior to installing a new transmission or an overhauled transmission with a new main control, record the solenoid strategy identification tag. If a new main control was installed, install the replacement solenoid body tag over the original identification tag. For additional information, refer to Solenoid Body Strategy Solenoid Body Strategy.

1. NOTICE: Prior to installation of the transmission, lubricate the torque converter pilot hub with multi-purpose grease or damage to the torque converter or engine crankshaft can occur.

Lubricate the torque converter pilot hub with multi-purpose grease.






2. Align the torque converter stud and flexplate hole near the paint marks at the 12 o'clock position.





3. Install the Torque Converter Retainer.





4. WARNING: Always secure transmission, transfer case, and axle assemblies to their service jack. Avoid obstructions while lowering and raising the jack. Improperly secured assemblies or contact with obstructions may cause the assembly to fall off the jack, which could result in serious personal injury.

NOTICE: The torque converter housing is piloted into position by dowels in the rear of the engine block. The torque converter must rest squarely against the flexplate. This indicates the torque converter pilot is not binding in the engine crankshaft.

NOTE: Make sure the transmission jack contacts the outer ribs of the transmission fluid pan.

NOTE: If transmission was disassembled, follow the add transmission fluid to the transmission steps. If transmission is being replaced, remove the transmission fluid fill plug and verify transmission is filled with transmission fluid.

Add transmission fluid to the transmission.
- Slightly tilt the transmission rearward.

- Remove the transmission fluid fill plug transmission fluid level indicator assembly.

- Add 11.35L (12 qt) of transmission fluid to the transmission through the transmission fluid fill hole.

- Install the transmission fluid fill plug.
- Tighten to 35 Nm (26 lb-ft).

5. NOTICE: The converter housing is piloted into position by dowels in the rear of the engine block. The torque converter must rest squarely against the flexplate. This indicates that the converter pilot is not binding in the engine crankshaft.

NOTE: Make sure the transmission jack makes contact on the outer ribs of the transmission fluid pan.

NOTE: Make sure the transmission is securely fastened to the transmission jack.

Position and secure the transmission on the high-lift transmission jack. Raise and position the transmission into the vehicle.


6. Remove the Torque Converter Retainer.





7. NOTE: Make sure the torque converter is fully seated in the transmission before aligning the transmission to the engine.

With the transmission in a horizontal position, move it toward the engine. Align the orange balancing marks between the torque converter studs and the flexplate bolt holes.


8. NOTE: Install the transmission case bolts in their correct locations noted during removal.

NOTE: The top 2 transmission case bolts need to be installed prior to installing the remaining bolts.

NOTE: The top left bolt is inserted through the fuel line bracket first, then through the transmission case.

Install 6 of the remaining 7 transmission case bolts.
- Tighten to 48 Nm (35 lb-ft).






9. Connect the transmission vehicle harness connector by pushing it in and twisting the outer shell to lock it in place.





10. Connect the wire harness to the top of the transmission.





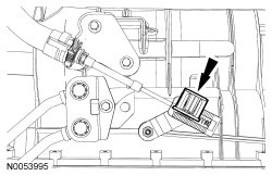
11. NOTICE: Prior to installation, inspect the Heated Oxygen Sensor (HO2S) and the Catalyst Monitor Sensor (CMS) wiring harness for damage.

Position the dual converter Y-pipe in place and install the 2 dual converter Y-pipe bolts.
- Tighten to 40 Nm (30 lb-ft).






12. NOTE: LH shown, RH similar.

Install the LH and RH exhaust flange nuts.

- Tighten to 40 Nm (30 lb-ft).






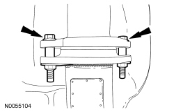
13. Position the transmission insulator and retainer to the transmission and install the 3 transmission insulator and retainer bolts.
- Tighten to 90 Nm (66 lb-ft).






14. Position the transmission crossmember in place and loosely install the transmission insulator and retainer nuts.





15. Install the transmission crossmember.
1. Install the transmission crossmember.

2. Install the 4 transmission crossmember bolts and nuts.
- Tighten to 90 Nm (66 lb-ft).






16. Tighten the transmission insulator and retainer nuts.
- Tighten to 115 Nm (85 lb-ft).






17. Install the LH isolator cap and bolt.
- Tighten to 35 Nm (26 lb-ft).






18. Install the Evaporative Emission (EVAP) canister front bracket bolt to the transmission crossmember.
- Tighten to 20 Nm (177 lb-in).


19. Install the fuel line bracket and fuel line bracket bolt.
- Tighten to 25 Nm (18 lb-ft).






20. NOTE: LH shown, RH similar.

Connect the RH and LH HO2S (Heated Oxygen Sensor) and the CMS (Catalyst Monitor Sensor) electrical connectors.






21. Install the LH exhaust heat shield and Evaporative Emission (EVAP) canister bolts.
- Tighten to 15 Nm (133 lb-in).






22. Install the RH exhaust heat shield bolt.
- Tighten to 15 Nm (133 lb-in).






23. Position the starter motor in place and install the 3 starter motor bolts.
- Tighten to 26 Nm (19 lb-ft).






24. Install the ground wire on the stud and install the ground wire nut.
- Tighten to 23 Nm (17 lb-ft).






25. Install the starter motor electrical connectors.
1. Tighten to 12 Nm (106 lb-in).

2. Tighten to 6 Nm (53 lb-in).






26. Install the plastic starter motor electrical connector cap.





27. Position the transmission fluid cooler tubes in place and install the transmission fluid cooler tube bracket nut.
- Tighten to 27 Nm (20 lb-ft).






28. Align the transmission fluid cooler tube bracket and install the remaining transmission case bolts.
- Tighten to 48 Nm (35 lb-ft).






29. NOTE: Inspect the case and make sure the old transmission fluid cooler tube O-rings are not stuck in the case.

NOTE: Install new transmission fluid cooler tube O-rings on the ends of the transmission fluid cooler tubes prior to installing.

Install new transmission fluid cooler tube O-rings on the transmission fluid cooler tubes.






30. Install the transmission fluid cooler tubes and the new transmission fluid cooler tube bracket bolt.
- Tighten to 30 Nm (22 lb-ft).






31. Install 4 new flexplate-to-torque converter nuts.
- Tighten to 40 Nm (30 lb-ft).






32. Install the rubber access plug.





33. Install the flexplate inspection cover and the flexplate inspection cover bolts.
- Tighten to 35 Nm (26 lb-ft).






34. Install the selector lever cable bracket and selector lever cable bracket bolts.
- Tighten to 48 Nm (35 lb-ft).






35. NOTE: When installing the selector lever cable end, make sure that the selector lever cable end is correctly installed onto the manual control lever. Pull back on the selector lever cable to make sure the selector lever cable end is securely installed onto the manual control lever.

NOTE: Apply pressure to the selector lever cable end while connecting it to the manual control lever to make sure the selector lever has not moved out of the DRIVE position.

Connect the selector lever cable to the manual control lever.
- Listen for the audible click.

- Pull back on the selector lever cable to make sure that the selector lever cable is securely installed.






36. Lock the selector lever cable lock tab.





37. If equipped, install the selector lever cable heat shield.





38. Install the driveshaft.

39. Connect the battery ground cable.

40. Verify that the selector lever cable is correctly adjusted.

41. After completing the repairs, use the scan tool to perform the Misfire Monitor Neutral Profile Correction procedure, following the on-screen instructions.

42. If a new transmission or a new main control was installed, the solenoid body strategy must be updated. For additional information, refer to Solenoid Body Strategy Solenoid Body Strategy.

43. If the transmission was overhauled, the adaptive drive cycle must be updated. For additional information, refer to Shift Point Road Test Shift Point Road Test.

44. While driving the vehicle, use the scan tool to verify that the Transmission Fluid Temperature (TFT) has reached a temperature of 91°C (195°F). This will circulate the transmission fluid through the torque converter and the transmission fluid cooling system, eliminating any trapped air in the transmission fluid cooling system.
- With the engine idling (600-750 rpm) in PARK, verify that the TFT (Transmission Fluid Temperature) is between 91°C-102°C (195°F-215°F).


45. Remove the transmission fluid fill plug transmission fluid level indicator assembly located on the passenger side front portion of the transmission case.





46. Separate the transmission fluid level indicator from the transmission fluid fill plug.





47. Wipe the transmission fluid level indicator clean. Reinstall the transmission fluid level indicator only back into the transmission fluid fill plug hole to check the transmission fluid level. Repeat this until a consistent reading is established.





48. NOTE: If the transmission fluid is not at the correct level, follow the steps for Adding Additional Transmission Fluid or Removing Transmission Fluid. For additional information, refer to Transmission Fluid Drain and Refill Transmission Fluid Drain and Refill.

Install the transmission fluid fill plug.
- Tighten to 35 Nm (26 lb-ft).