Operation CHARM: Car repair manuals for everyone.
Manuals through 2025 now available!

Our trusted friends have launched a new website named LEMON, which has newer manuals. It also contains all the CHARM manuals.

LEMON is the spiritual successor to CHARM, I recommend you try it!

Link: lemon-manuals.la or lemon-manuals.org.ua

(Some people have issue connecting. LEMON is investigating. For now, use Firefox or change your DNS server)

Or, hide this message: temporarily or permanently

System 83 Fuel Control Check

Proceed only if dwell reading (duty) does not fluctuate.



1. TEST SYSTEM CHECKER
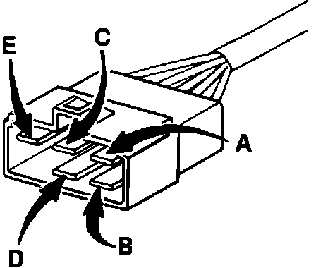
A. Apply 12 volts to terminal C while grounding terminals A, B, and D, one at a time. The checker should function as shown in the chart.
B. Once you have determined the checker is in good working order, connect it to the control unit service connector.
12 VOLTS GROUND LAMP BUZZER
to TERMINAL TERMINAL LIGHTS SOUNDS
C A Red Yes
C B Yellow No
C D Green




626 Control Unit Service Connector Location



GLC Control Unit Service Connector Location

2. PREPARATION
A. Before performing any tests, always check for proper vacuum hose routing, disconnected vacuum hoses, and vacuum leaks.
B. Apply the parking brake.
C. Warm up engine to normal engine operating temperature.



3. CHECK THE INPUTS TO THE CONTROL UNIT

A. With the engine idling, use the SYSTEM CHECKER to locate any faulty input signals to the control unit or faulty output signals from the control unit and repair as necessary (see chart). If more than one fault is present, the system checker will indicate the fault with the lowest trouble code number.
CAUTION: The red lamp/buzzer may not indicate a fault in the circuit between the O2 sensor and the control unit. Use green lamp check for further diagnosis. (If the ignition is turned off after a malfunction occurs in this circuit, the checker will not indicate the fault.)
NOTE 1: To distinguish between a faulty input from the O2 sensor and faulty output to the air-fuel solenoid, proceed to Step 4.
NOTE 2: A faulty input from the vacuum sensor will activate Code 7 and Code 5 alternately (626 only).
4. CHECK GREEN LAMP

A. If green lamp flashes at idle:
1. Raise engine speed to 2500 +/- 50 rpm.

2. Count the number of times the green lamp flashes in 10 seconds while maintaining 2500 rpm.

3. The green lamp should flash more than 8 times in 10 seconds. If so, system is OK. Go to Tune-Up Procedures, Step 8.

4. If green lamp does not flash at least 8 times, replace the O2 sensor and repeat Steps 1-3.

B. If green lamp stays on at idle:
1. Check for open circuit between air-fuel solenoid and control unit; repair as necessary.

2. Check for short circuit across air-fuel solenoid and/or related wiring; repair short, then replace control unit.

3. If problem remains, it indicates a misadjusted idle mixture screw or clogged carburetor jets. Refer to applicable workshop manual, carburetor section.

4. If the problem has been located and repaired, and the green lamp flashes at idle, go to Step 4A.

5. If the problem has been located and repaired, and the green lamp now stays off at idle go to Step 5.
C. If green lamp stays off at idle:
1. Check for faulty O2 sensor and/or related wiring to the control unit; repair as necessary.

2. Voltage reading at A/F solenoid service connector would indicate that circuit between control unit and A/F solenoid is OK. If no voltage is present, repair as necessary.

3. Check for proper operation of air control valve (federal models only); repair as necessary.

4. If problem remains, it indicates a misadjusted idle mixture screw or clogged carburetor jets. Refer to applicable workshop manual, carburetor sections.

5. If the problem has been located and repaired, and the green lamp flashes at idle, go to Step 4A.

6. If the problem has been located and repaired, and the green lamp now stays on at idle, go to Step 5.



5. CHECK PROPER CONTROL UNIT OPERATION

A. Simulate the following problems (see accompanying chart).

B. As each problem is simulated, the red lamp/buzzer must indicate the correct signal pattern. After each check, the ignition must be turned off and the vehicle restarted to recycle the control unit.

C. Replace control unit if incorrect pattern is indicated or if no pattern is indicated.



626

6. CHECK CONTROL UNIT OUTPUT USING DWELL METER

A. Connect a dwell meter to the air-fuel solenoid service connector. Set meter to 90~ scale, 4 cylinder.
B. With engine idling, dwell reading should fluctuate.

C. Raise engine speed to 2500 rpm; dwell reading should change but still fluctuate.



GLC

6. CHECK CONTROL UNIT OUTPUT USING DWELL METER

A. Connect a dwell meter to the air-fuel solenoid service connector. Set meter to 90~ scale, 4 cylinder.
B. With engine idling, dwell reading should fluctuate.

C. Raise engine speed to 2500 rpm; dwell reading should change but still fluctuate.
7. CHECKING CONTROL UNIT OUTPUT TO THE DECELERATION CONTROL SYSTEM Before performing any of the checks below, check for proper operation of Idle Switch, Neutral Switch, and Clutch Switch. (626, GLC)



8. CHECK SLOW FUEL CUT SYSTEM (626)

A. Disconnect neutral switch connector.



8. CHECK SLOW FUEL CUT SYSTEM (GLC)

A. Disconnect neutral switch connector.



626
B. Connect tachometer to engine.
C. Connect positive lead of voltmeter to SLOW FUEL CUT service connector Lg terminal and ground other lead.
D. Raise engine speed to 3000 rpm. During rapid deceleration, the voltmeter should read as follows:
Above 2000 rpm - approx. 12 V Below 2000 rpm - less than 1.5V



GLC
B. Connect tachometer to engine.
C. Connect positive lead of voltmeter to SLOW FUEL CUT service connector BrW terminal and ground other lead.
D. Raise engine speed to 3000 rpm. During rapid deceleration, the voltmeter should read as follows:
Above 1900 rpm - approx. 12 V Below 1900 rpm - less than 1.5V
NOTE: Be sure to reconnect neutral switch connector.



9. CHECK COASTING RICHER SYSTEM (626)
A. Connect voltmeter positive lead to the BrB terminal of the same connector (as in Step 8C).



9. CHECK THROTTLE POSITIONER SYSTEM (GLC)
A. Connect voltmeter positive lead to the terminal of the same connector (as in Step 8C).
B. Increase engine speed to 3000 rpm; then push in idle switch.
C. During slow deceleration, voltmeter should read as follows:
Above 2000 rpm - approx. 12 V 2000-1400 rpm - less than 1.5 V Below 1400 rpm - approx. 12 V
* If the above test results are within specs, control unit output is OK.
NOTE: Be sure to reconnect neutral switch connector.
B. During slow deceleration, the voltmeter should read as follows:
Above 1900 rpm - less than 1.5 V 1400-1900 rpm - approx. 12 V Below 1400 rpm - less than 1.5 V
If the test results are within specs, control output is OK.

If the control unit tests O.K., return to Tune-Up Procedures Step 8.