Operation CHARM: Car repair manuals for everyone.
Manuals through 2025 now available!

Our trusted friends have launched a new website named LEMON, which has newer manuals. It also contains all the CHARM manuals.

LEMON is the spiritual successor to CHARM, I recommend you try it!

Link: lemon-manuals.la or lemon-manuals.org.ua

(Some people have issue connecting. LEMON is investigating. For now, use Firefox or change your DNS server)

Or, hide this message: temporarily or permanently

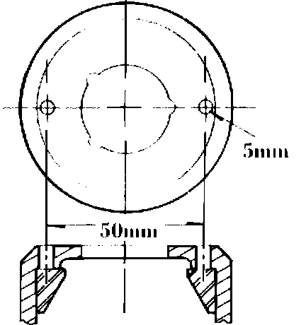
Bearing Housing - Modification

Category

7
Applicable Model/s

1983 626
Subject

BEARING HOUSING MODIFICATION
Bulletin No. 063/83
Issued 8/5/83
Revised

Bearing Housing Assembly:




DESCRIPTION

Increasing the gap of outer race and bearing housing from 3.0 mm to 3.7 mm, it is made possible to fit between the bearing remover (49FT 01 361) as shown in the workshop manual page 7B:32, Fig. 49.

VIN OF PRODUCTION CHANGE

Sedan: JM1GC221 D1520313 May, 1983
Hatchback: JM1GC241 D1506012 May, 1983
Coupe: JM1GC311 D1515041 May, 1983


PARTS INFORMATION

No change in the parts number for the bearing housing.

Bearing Remover Tool:




Because of the insufficient clearance between the outer race and bearing housing, the special tool cannot be used for the vehicles produced before May, 1983. Please use the following procedure.

Bearing Housing:




BEARING OUTER RACE REMOVING PROCEDURE


1. Drill two 5 mm holes on the bearing housing as shown in figure.

Outer Race Removal:




2. Tap the outer race out using a punch.