Operation CHARM: Car repair manuals for everyone.
Manuals through 2025 now available!

Our trusted friends have launched a new website named LEMON, which has newer manuals. It also contains all the CHARM manuals.

LEMON is the spiritual successor to CHARM, I recommend you try it!

Link: lemon-manuals.la or lemon-manuals.org.ua

(Some people have issue connecting. LEMON is investigating. For now, use Firefox or change your DNS server)

Or, hide this message: temporarily or permanently

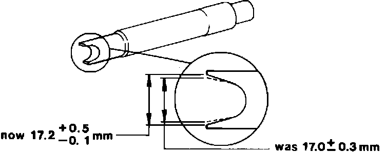
Tool - Preload Adapter Modification

83mazda05
Category 7 060/83
3/28/83

1983 626


SUBJECT Preload Adapter Modification for 1983 626



DESCRIPTION The GLC preload adapter (49FT 01 515) has been modified to be used on the 1983
626 and the part number has been changed to 49FT-01-515A.

This modification can be done by machining the open end of the GLC adapter (49FT 01 515)..