Operation CHARM: Car repair manuals for everyone.
Manuals through 2025 now available!

Our trusted friends have launched a new website named LEMON, which has newer manuals. It also contains all the CHARM manuals.

LEMON is the spiritual successor to CHARM, I recommend you try it!

Link: lemon-manuals.la or lemon-manuals.org.ua

(Some people have issue connecting. LEMON is investigating. For now, use Firefox or change your DNS server)

Or, hide this message: temporarily or permanently

Torque Specifications

Torque Chart:






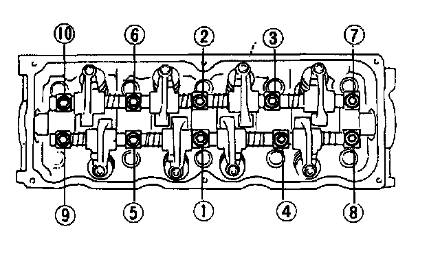
Cylinder Head Installation:






Gradually torque the cylinder head bolts in the order shown to 75-81 Nm (56-60 ft lb)



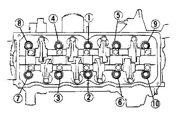
Camshaft/Rocker Arm Removal:






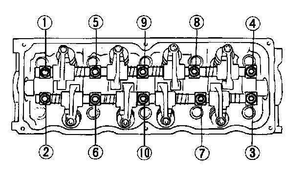
Camshaft/Rocker Arm Installation:






Torque Chart:






Torque Chart:






Torque Chart:






Torque Chart:






Torque Chart: