Operation CHARM: Car repair manuals for everyone.
Manuals through 2025 now available!

Our trusted friends have launched a new website named LEMON, which has newer manuals. It also contains all the CHARM manuals.

LEMON is the spiritual successor to CHARM, I recommend you try it!

Link: lemon-manuals.la or lemon-manuals.org.ua

(Some people have issue connecting. LEMON is investigating. For now, use Firefox or change your DNS server)

Or, hide this message: temporarily or permanently

Engine Disassembly


1. With engine placed on a suitable workstand, remove the following components from the engine:
a. Exhaust manifold and gasket.
b. Alternator.
c. Spark plug wires, spark plugs and distributor.
d. Intake manifold assembly and gasket.
e. Fuel pump and gasket, if equipped with carburetor.
f. Oil filter and oil pressure switch.



Fig. 1 Exploded view of front engine components. SOHC engine:





2. Refer to Fig. 1 and remove components indicated from the front of the engine, and note the following:
a. When removing the timing belt, remove the tensioner spring after loosening the tensioner lock bolt.
b. Mark direction of rotation on the timing belt. Use a piece of chalk to place direction mark on the timing belt. Do not use a pencil or pen to place mark on belt.
c. Remove timing belt.
d. When removing crankshaft pulley and timing belt pulley, place ring gear brake tool 49E301060 or equivalent on to flywheel. Remove crankshaft pulley and timing belt pulley.



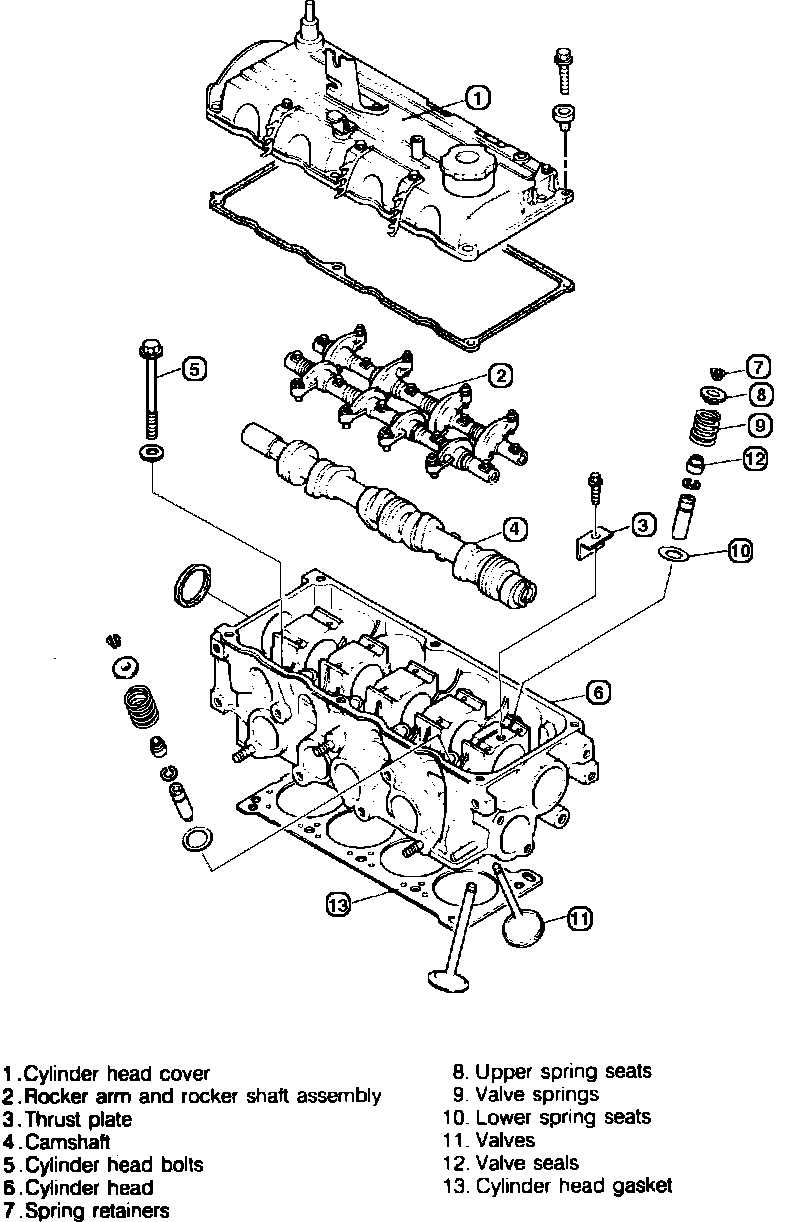
Fig. 2 Exploded view of cylinder head & components. SOHC engine:





3. Refer to Fig. 2 and remove components indicated from cylinder head and note the following:



Fig. 3 Rocker arm & shaft attaching bolt loosening sequence:





a. When removing the rocker arm and rocker shaft assembly, loosen attaching bolts gradually in sequence shown in Fig. 3.
b. Remove rocker arm and shaft assembly. Do not interchange the various components of the rocker arm and shaft assembly.



Fig. 4 Cylinder head bolt loosening sequence. 1986-87:





c. When removing the cylinder head assembly, loosen the cylinder head attaching bolts in sequence shown in Fig. 4.




d. When removing the valves from the cylinder head, use valve spring lifter and pivot tools 490636100A and 49S120222 or equivalents to remove the valves.



Fig. 6 Exploded view of oil pump, oil pan, clutch cover & flywheel. SOHC engine:





4. Refer to Fig. 6 and remove components indicated from the engine block, while noting the following:
a. When removing the clutch cover and flywheel, install ring gear brake tool 49E301060 or equivalent on to flywheel.
b. Gradually loosen attaching bolts, then the clutch cover and flywheel assembly.



Fig. 7 Exploded view of crankshaft & piston assembly. SOHC engine:





5. Refer to Fig. 7 and remove components indicated from engine block.