Operation CHARM: Car repair manuals for everyone.
Manuals through 2025 now available!

Our trusted friends have launched a new website named LEMON, which has newer manuals. It also contains all the CHARM manuals.

LEMON is the spiritual successor to CHARM, I recommend you try it!

Link: lemon-manuals.la or lemon-manuals.org.ua

(Some people have issue connecting. LEMON is investigating. For now, use Firefox or change your DNS server)

Or, hide this message: temporarily or permanently

System Specifications

Torque Specifications
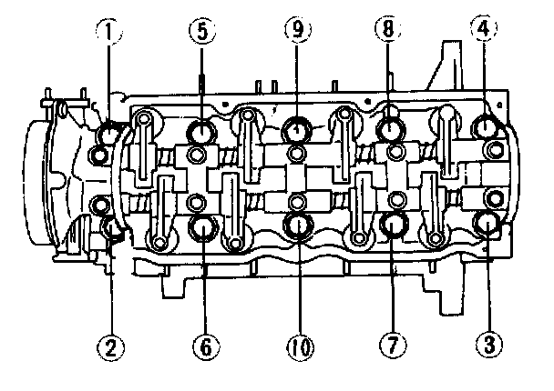
Cylinder Head Bolts 80 - 86 Nm (59 - 64 ft. lbs.)
Rocker Shaft Assembly Bolts 18 - 26 Nm (13 - 20 ft. lbs.)
Camshaft Pulley Bolt 47 - 65 Nm (35 - 48 ft. lbs.)
Timing Belt Cover Bolts 7 - 10 Nm (61 - 87 ft. lbs.)
Exhaust Manifold X Cyl. Head 21 - 28 Nm (16 - 21 ft. lbs.)
Intake Manifold X Cyl. Head 19 - 25 Nm (14 - 19 ft. lbs.)
Cylinder Head Cover 3 - 4 Nm (24 - 34 inch lbs.)
Spark Plugs 15 - 23 Nm (11 - 17 ft. lbs.)

Cylinder Head Removal:




Camshaft/Rocker Arm Removal:






Cylinder Head Installation:




Camshaft/Rocker Arm Installation: