Operation CHARM: Car repair manuals for everyone.
Manuals through 2025 now available!

Our trusted friends have launched a new website named LEMON, which has newer manuals. It also contains all the CHARM manuals.

LEMON is the spiritual successor to CHARM, I recommend you try it!

Link: lemon-manuals.la or lemon-manuals.org.ua

(Some people have issue connecting. LEMON is investigating. For now, use Firefox or change your DNS server)

Or, hide this message: temporarily or permanently

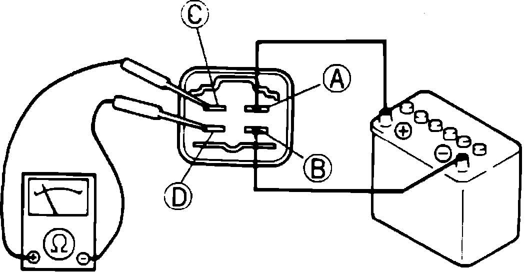
Main Relay (Computer/Fuel System): Testing and Inspection

Fig. 82 Main relay connector terminal identification.:







1. Check whether a clicking sound is heard at main relay when turning ignition switch on and off.
2. Apply 12 volts and ground to terminals A and B of main relay, Fig. 82.
3. Check continuity with ohmmeter. With no voltage applied, there should be no continuity between terminals C and D and, with 12 volts applied, there should be continuity between terminals C and D.

TERMINAL VOLTAGE
A: APPROX. 12V
B: 0V
C: APPROX. 12V
D: APPROX. 12V
RESISTANCE BETWEEN A AND B TERMINALS 70 OHMS