Operation CHARM: Car repair manuals for everyone.
Manuals through 2025 now available!

Our trusted friends have launched a new website named LEMON, which has newer manuals. It also contains all the CHARM manuals.

LEMON is the spiritual successor to CHARM, I recommend you try it!

Link: lemon-manuals.la or lemon-manuals.org.ua

(Some people have issue connecting. LEMON is investigating. For now, use Firefox or change your DNS server)

Or, hide this message: temporarily or permanently

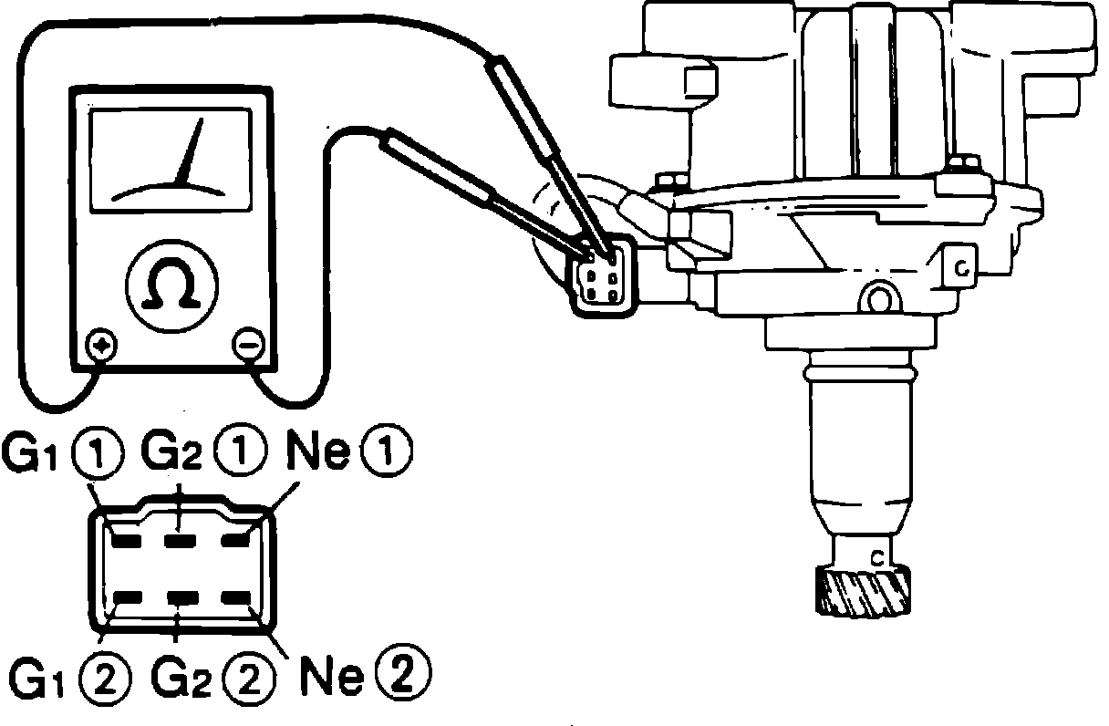
Distributor: Testing and Inspection

Fig. 92 Distributor connector terminal identification.:





1. Disconnect distributor connector.
2. Using ohmmeter, check resistance between terminals, Fig. 92. resistance should be 140-180 ohms at 68°F between terminals Ne (1) and Ne (2), between terminals G1 (1) and G1 (2) and between terminals G2 (1) and G2 (2).