Operation CHARM: Car repair manuals for everyone.
Manuals through 2025 now available!

Our trusted friends have launched a new website named LEMON, which has newer manuals. It also contains all the CHARM manuals.

LEMON is the spiritual successor to CHARM, I recommend you try it!

Link: lemon-manuals.la or lemon-manuals.org.ua

(Some people have issue connecting. LEMON is investigating. For now, use Firefox or change your DNS server)

Or, hide this message: temporarily or permanently

Main Relay (Computer/Fuel System): Testing and Inspection

1. Check that a "clicking" sound is heard at the main relay when turning the ignition switch OFF and ON.

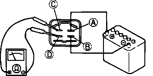
Main Relay Inspection:





2. Apply 12 volts and a ground to terminals "A" and "B" of the main relay as shown in the diagram.
3. Check for continuity at the terminals with an ohmmeter. With 12 volts applied to the terminals, there should be continuity between terminals "C" and "D" of the main relay. With the voltage removed, there should be no continuity between terminals "C" and "D" of the main relay.