Operation CHARM: Car repair manuals for everyone.
Manuals through 2025 now available!

Our trusted friends have launched a new website named LEMON, which has newer manuals. It also contains all the CHARM manuals.

LEMON is the spiritual successor to CHARM, I recommend you try it!

Link: lemon-manuals.la or lemon-manuals.org.ua

(Some people have issue connecting. LEMON is investigating. For now, use Firefox or change your DNS server)

Or, hide this message: temporarily or permanently

Timing Belt: Service and Repair


TIMING BELT






Preparation SST

Removal
A. Disconnect the negative battery cable.
B. Drain the engine coolant.






C. Remove in the order shown in the figure, referring to Removal Note.
1. High-tension lead and spark plug
2. Fresh air duct
3 Cooling fan and radiator cowling
4. Drive belt
5. A/C compressor idler pulley
6. Crankshaft pulley
7. Coolant bypass hose
8. Upper radiator hose
9. Timing belt cover and gasket
10. Upper idler pulley
11. Timing belt
12. Timing belt auto tensioner

Removal Note:
Timing belt pulley lock bolt






Hold the timing belt pulley with the SST and remove the lock bolt.

Timing belt
Before removing the timing belt, perform the following operation.






1. Turn the crankshaft to align the matching marks of the pulleys.






2. Make an arrow on the timing belt to indicate direction of travel.

Note: Directional arrow is for proper reassembly.

Inspection:






Inspect the following parts. Replace the timing belt if there is any oil or grease on it. Check the timing belt for damage, ware. peeling, cracks or hardening.
1. Timing belt
2. Timing belt auto tensioner
3. Timing belt pulley
4 Camshaft pulleys

Installation






Install in the reverse order of removal referring to Installation Note.

Installation Note:
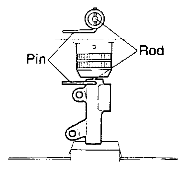
Timing belt auto tensioner






1. Set a plane washer at bottom of the tensioner body to prevent damage to the body plug.
2. Press in the tensioner rod slowly, using a press or vise.

Caution: Do not press the tensioner rod more than 9,807 N (l,000 kgf, 2,200 lbf).






3. Insert a pin to hold the tensioner rod in the body as shown.
4. Install the auto tensioner to the cylinder block.
Tightening torque: 19-25 N.m {1.9-2.6 m-kgf, 14-19 ft.Ibf}
Timing Belt






1. Install the crankshaft pulley lock bolt and loosely tighten.






2. Check the alignment of the matching marks of the pulleys.






3. With the upper idler pulley removed, hang the timing belt on each pulley in the order shown in the figure.

Caution: If the timing belt is being reused, it must be reinstalled to rotate in the original direction. Check that there is no oil, grease, or dirt on the timing belt.






4. Install the upper idler pulley.
Tightening torque: 37-52 N.m {3.8-5.3 kgf.m, 27-38 ft.lbf }
5. Turn the crankshaft twice in the direction of rotation, align the matching marks.
6. Check that the matching marks are correctly aligned. If necessary, repeat Steps 2-5.






7. Remove the pin from the auto tensioner.
8. Turn the crankshaft twice and align the matching marks.
9. Reconfirm that the timing marks are correctly aligned.






10. Check the timing belt deflection. If it is not correct, repeat the adjustment from step 4 above.
Timing belt deflection: 5-7mm {0.20-0.28 in }/98 N 10 kgf, 22 lbf}

Caution: Be sure not to apply tension other than that of the auto tensioner.






11. Remove the crankshaft pulley lock bolt.






12. Install the timing belt covers along with new gaskets.
Tightening torque:
M6 : 7.9-10.1 N.m {80-110 kgf.cm, 70-95.4 in.lbf }
M10: 38-51 N.m {3.8-5.3 kgf.m, 28-38 ft.Ibf}
Drive belt

Install each drive belt, and check the belt deflection. (Refer to Drive Belts Service and repair (Drive Belts,Mounts, Brackets and Accessories). Drive Belts, Mounts, Brackets and Accessories
Crankshaft Pulley
1. Set the SST against the flywheel (M/T) 0r drive plate (A/T).






2. Install the crankshaft pulley and lock bolt.
Tightening torque: 157-167 N.m (16-17 m-kg, 116-123 in-lb).
3. Reverse the direction of the SST and remove the SST.
Steps After Installation
1. Fill the radiator and coolant reservoir with the specified amount and type of engine coolant.
2. Perform the necessary engine adjustment. (Refer to Maintenance, Tune-up Procedure.)