Operation CHARM: Car repair manuals for everyone.
Manuals through 2025 now available!

Our trusted friends have launched a new website named LEMON, which has newer manuals. It also contains all the CHARM manuals.

LEMON is the spiritual successor to CHARM, I recommend you try it!

Link: lemon-manuals.la or lemon-manuals.org.ua

(Some people have issue connecting. LEMON is investigating. For now, use Firefox or change your DNS server)

Or, hide this message: temporarily or permanently

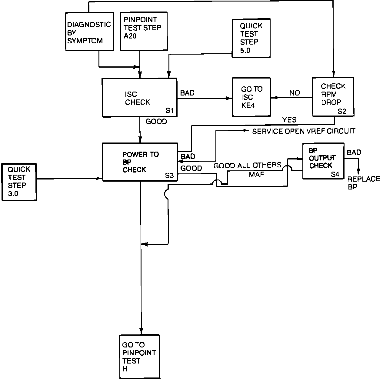
S - System Check

Enter this Pinpoint Test only when service code 11 is received during Quick Test and you have been directed here from EEC No-Start Pinpoint Test step AA20 or by Quick Test step 9.0 (Diagnosis By Symptom).

This Pinpoint Test is only intended to diagnose the following:

1. ISC bypass air system.
2. MAF system.

To prevent replacement of good components, be aware that these non-EEC areas may be faulty:

1. Poor power and/or ground connections.
2. Ignition system wires, coil, plugs.
3. Basic engine condition: valves, cam timing, compression, etc.


PINPOINT TEST S FLOW CHART

Pinpoint Test S Flow Chart:






TEST STEPS S1 - S3

Test Steps S1 - S3:






TEST STEP S3

Test Step S3:






TEST STEP S4

Test Step S4: