Operation CHARM: Car repair manuals for everyone.
Manuals through 2025 now available!

Our trusted friends have launched a new website named LEMON, which has newer manuals. It also contains all the CHARM manuals.

LEMON is the spiritual successor to CHARM, I recommend you try it!

Link: lemon-manuals.la or lemon-manuals.org.ua

(Some people have issue connecting. LEMON is investigating. For now, use Firefox or change your DNS server)

Or, hide this message: temporarily or permanently

Evaporative Emissions System: Testing and Inspection

SYSTEM INSPECTION

Checking Vacuum At Solenoid:






NOTE: Check condition of wiring harness and/or vacuum lines and connectors before checking sensors or switches.

1. Warm engine to operating temperature.
2. Run at idle.
3. Disconnect canister vacuum hose frome solenoid valve and verify that no vacuum is felt at solenoid valve.
4. If not as specified, check solenoid valve.

CHARCOAL CANISTER

Charcoal Canister:






1. Visually inspect canister for signs of damage or cracks. Replace if necessary.

PURGE CONTROL SOLENOID VALVE

Fig. 146 Solenoid Test:






1. Disconnect vacuum hoses from solenoid valve.
2. Verify that no air can pass through.
3. Disconnect solenoid valve connector and connect 12V and a ground to valve terminals.
4. Verify that air can pass through.
5. If not as specified, replace valve.

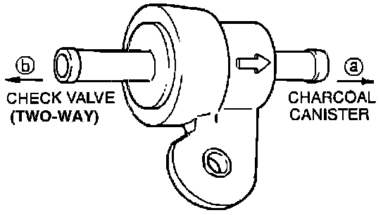
TWO-WAY CHECK VALVE

2-Way Check Valve:






1. Remove valve.
2. Connect vacuum pump to valve at "a".
3. Check that valve opens at (does not hold more than) 1.46 inHg (37 mmHg).
4. Disconnect vacuum pump from "a" and connect to "b".
5. Check that valve opens at (does not hold more than) 1.73 inHg (44 mmHg).
6. Replace valve if not as specified.

THREE-WAY CHECK VALVE

3-Way Check Valve:






1. Remove valve and plug port "C".
2. Connect vacuum pump to port "B".
3. Check that valve opens at (does not hold more than) 2.76 inHg (70 mmHg).
4. Replace valve if not as specified.