Operation CHARM: Car repair manuals for everyone.
Manuals through 2025 now available!

Our trusted friends have launched a new website named LEMON, which has newer manuals. It also contains all the CHARM manuals.

LEMON is the spiritual successor to CHARM, I recommend you try it!

Link: lemon-manuals.la or lemon-manuals.org.ua

(Some people have issue connecting. LEMON is investigating. For now, use Firefox or change your DNS server)

Or, hide this message: temporarily or permanently

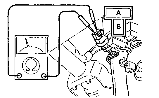
Stoplight Switch

Inspection

Inspection of voltage
1. Turn the ignition switch ON.







2. Measure voltage at the stoplight switch connector.
3. If not as specified, check the wiring harness and the continuity of the switch.

Inspection of continuity
1. Disconnect the negative battery cable.
2. Disconnect the stoplight switch connector.







3. Check continuity between terminals A and B of the switch.
4. If not as specified, replace the stoplight switch.
5. Connect the stoplight switch connector.
6. Connect the negative battery cable.