Operation CHARM: Car repair manuals for everyone.
Manuals through 2025 now available!

Our trusted friends have launched a new website named LEMON, which has newer manuals. It also contains all the CHARM manuals.

LEMON is the spiritual successor to CHARM, I recommend you try it!

Link: lemon-manuals.la or lemon-manuals.org.ua

(Some people have issue connecting. LEMON is investigating. For now, use Firefox or change your DNS server)

Or, hide this message: temporarily or permanently

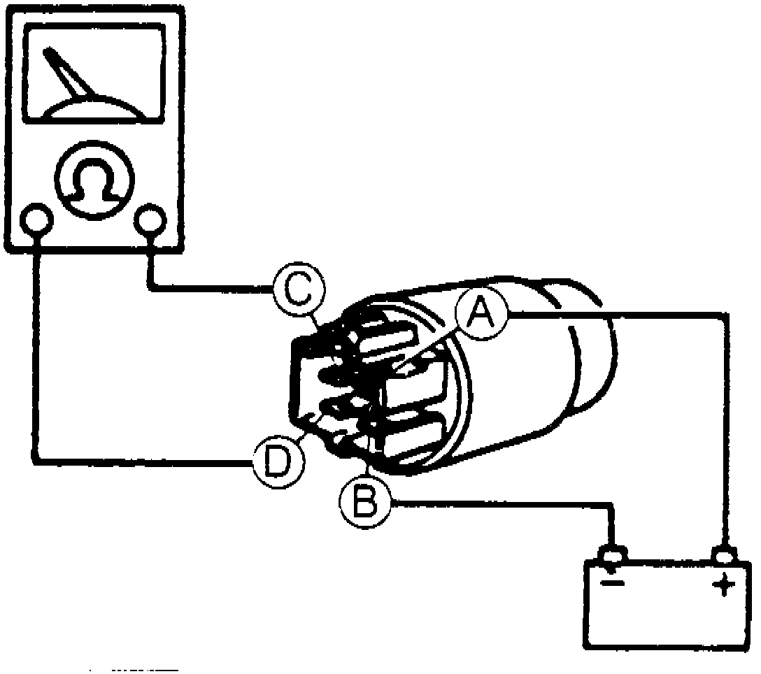
Compressor Clutch Relay: Testing and Inspection

1. Ensure continuity does not exist between terminals C and D, Fig. 7. If it does, replace relay.
2. Apply battery voltage to terminal A and ground terminal B. Continuity should now exist between terminals C and D. If not, replace relay.

Fig. 7 Condenser Fan Relay Inspection & Terminal Identification: