Operation CHARM: Car repair manuals for everyone.
Manuals through 2025 now available!

Our trusted friends have launched a new website named LEMON, which has newer manuals. It also contains all the CHARM manuals.

LEMON is the spiritual successor to CHARM, I recommend you try it!

Link: lemon-manuals.la or lemon-manuals.org.ua

(Some people have issue connecting. LEMON is investigating. For now, use Firefox or change your DNS server)

Or, hide this message: temporarily or permanently

Ignition Switch Lock Cylinder: Service and Repair

Removal/Inspection/Installation











Steering wheel Removal

Caution:
^ Do not try to remove the steering wheel by hitting the shaft with a hammer. The column will collapse. Remove the steering wheel by using a suitable puller.






Steering lock

1. Use a chisel and a hammer to make a groove in the heads of the steering lock mounting bolts.
2. Remove the bolts by using a screwdriver.
3. Remove the steering lock assembly.






Inspection Steering shaft assembly

Note the following and replace the steering shaft assembly if necessary.
1. Column bushing damage
2. Column bearing damage






3. Steering shaft length
Length: 492.0-495.0 mm { 19.37-19.49 in }






4. Tilt operation
(1) Verify that the adjusting lever moves smoothly from unlock position to lock position.
(2) Verify that the steering shaft is fixed firmly when the adjusting lever is locked.






Steering lock (ATX)
Verify that the cable connector does not move when the key is in the LOCK position and that it moves freely with the key in other positions.






Steering lock
1. Install the steering lock assembly on the jacket.
2. Verify that the lock operates correctly.
3. Install new steering lock mounting bolts.
4. Tighten the bolts until the heads break off.






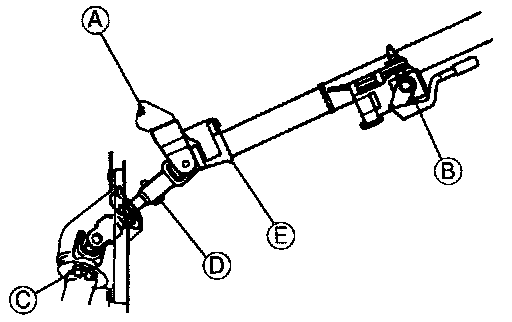
Steering shaft assembly and universal joint

Caution:
^ Do not apply the shock in the axial direction of the shaft.

1. Tighten bolts A, B and C.
2. Tighten bolt D with the steering shaft at its upper most tilt position.






3. The paint must be visible after tightening the bolt D.
4. After installation, lightly tap the lower bracket at the E point shown by using a hammer to verify correct installation.

Steering wheel

Set the wheels in the straight-ahead position, and install the steering wheel.






Horn pad (without air bag)

Caution:
^ Do not install the horn pad by tapping or pressing on one side at a time. The energy absorbing material on the back of the horn pad will become deformed and the horn will not operate if it is not properly installed. Install the horn pad by lightly holding down the upper portion, then using both hands as shown in the figure, strongly and evenly press down on all sides.