Operation CHARM: Car repair manuals for everyone.
Manuals through 2025 now available!

Our trusted friends have launched a new website named LEMON, which has newer manuals. It also contains all the CHARM manuals.

LEMON is the spiritual successor to CHARM, I recommend you try it!

Link: lemon-manuals.la or lemon-manuals.org.ua

(Some people have issue connecting. LEMON is investigating. For now, use Firefox or change your DNS server)

Or, hide this message: temporarily or permanently

Control Valve Body Disassembly/Assembly

CONTROL VALVE BODY DISASSEMBLY/ASSEMBLY

Control Valve Body Disassembly

Caution
^ Denting or scratching these components will reduce the ability of the transaxle to shift properly. When handling these components or the valve body that contains them, be careful not to drop or hit them.


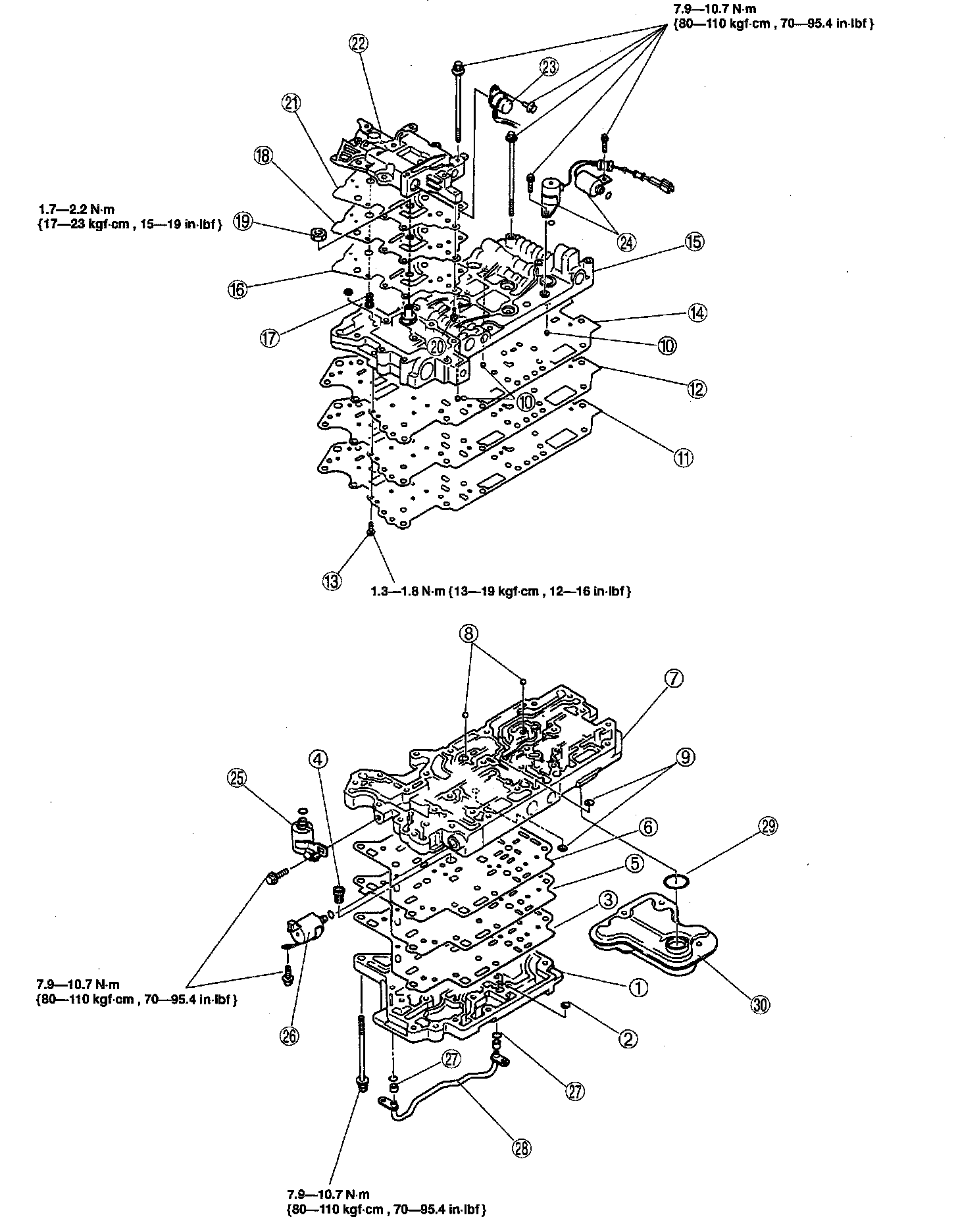
1. Disassemble in the order indicated in the table.
2. Neatly arrange the removed parts to avoid confusing the similar parts.

Warning
^ Using compressed air can cause dirt and other particles to fly out, causing injury to the eyes. Wear protective eye wear whenever using compressed air.


3. Clean the removed parts with cleaning solvent, then use compressed air to dry them. Use compressed air to clean out all holes and passages.








Disassembly procedure
1. Remove the oil strainer.
2. Remove the O-ring from the oil strainer.
3. Remove the oil pipe.
4. Remove the O-rings from the oil pipe.
5. Remove the shift solenoid A.
6. Remove the torque converter clutch solenoid valve.
7. Remove the shift solenoid B, shift solenoid C, and pressure control solenoid.
8. Remove the upper control valve body.





9. Remove the screws.
10. Remove the jet orifice and nut.
11. Remove gasket B and, upper separator plate, Oil filter, and gasket A.
12. Remove the oil strainer from the upper control valve body.
13. Remove the main control valve body.





14. Remove the screws.
15. Remove gasket D, main separator plate, and gasket C.
16. Remove the rubber balls from the main control valve body.
17. Remove the rubber balls and oil strainer from the premain control valve body.
18. Remove the premain control valve body.
19. Remove the oil filter, gasket E, lower separator plate, and gasket F.
20. Remove the oil strainer from the lower control valve body.

Upper Control Valve Body Disassembly/Assembly

Caution
^ Denting or scratching these precisely machined components will reduce the ability of the transaxle to shift properly. When handling these components or the valve body that contains them, be careful not to drop or hit them.


Note
^ If a valve does not slide out under its own weight, place the valve body open-side down and tap on the valve body lightly with a plastic hammer.

1. Disassemble in the order indicated in the table.

Warning
^ Using compressed air can cause dirt and other particles to fly out, causing injury to the eyes. Wear protective eye wear whenever using compressed air.


2. Clean all parts and holes by using compressed air and apply ATF to them immediately before assembly.
3. Assemble in the reverse order of disassembly indicated in the table.





Assembly procedure
1. Measure the spring free length.





2. If not within the specification, replace the spring(s).
3. Install pressure modifier valve spring B, pressure modifier valve, pressure modifier valve spring, and pressure modifier valve sleeve. Secure them with the stop pin.





4. Install the pressure modifier accumulator valve and pressure modifier accumulator spring. Secure them with the spring retainer.





Premain Control Valve Body Disassembly/Assembly

Caution
^ Denting or scratching these precisely machined components will reduce the ability of the transaxle to shift properly. When handling these components or the valve body that contains them, be careful not to drop or hit them.


Note
^ If a valve does not slide out under its own weight, place the valve body open-side down and tap on the valve body lightly with a plastic hammer.

1. Disassemble in the order indicated in the table.

Warning
^ Using compressed air can cause dirt and other particles to fly out, causing injury to the eyes. Wear protective eye wear whenever using compressed air.


2. Clean all parts and holes by using compressed air and apply ATF to them immediately before assembly.
3. Assembly in the reverse order of disassembly, indicated in the table.





Assembly procedure
1. Measure the spring free length.





2. If not within the specification, replace the spring(s).
3. Install the bypass valve spring, bypass valve, and stop plug. Secure them with the stop pin.
4. Install the 2-3 shift valve spring, 2-3 shift valve, and stop plug. Secure them with the stop pin.





5. Install the converter relief valve and converter relief valve spring. Secure them with the spring retainer.
6. Install the torque converter clutch control valve spring, torque converter clutch control valve, and stop plug.
Secure them with the stop pin.





Main Control Valve body Disassembly/Assembly

Caution
^ Denting or scratching these precisely machined components will reduce the ability of the transaxle to shift properly. When handling these components or the valve body that contains them, be careful not to drop or hit them.


Note
^ If a valve does not side out under its own weight, place the valve body open-side down and tap on the valve body lightly with a plastic hammer.

1. Disassemble in the order indicated in the table.

Warning
^ Using compressed air can cause dirt and other particles to fly out, causing injury to the eyes. Wear protective eye wear whenever using compressed air.


2. Clean all parts and holes by using compressed air and apply ATF to them immediately before assembly.
3. Assembly in the reverse order of disassembly, indicated in the table.





Assembly procedure
1. Measure the spring free length.





2. If not within the specification, replace the spring(s).
3. Install the 3-4 shift valve spring, 3-4 shift valve, and stop plug. Secure them with the stop pin.
4. Install the low reducing valve spring, low reducing valve, and stop plug. Secure them with the stop pin.
5. Install the 1-2 shift valve spring, 1-2 shift valve, and stop plug. Secure them with the stop pin.





6. Install the pressure regulator valve, pressure regulator valve spring, pressure regulator spring seat, pressure regulator plug sleeve, pressure regulator plug, and stop plug. Secure them with the roll pin.





7. Install the solenoid reducing valve and solenoid reducing valve spring. Secure them with the spring retainer.
8. Install the manual valve.





Control Valve Body Assembly
1. Verify that all parts are clean and free of dust and other small particles.
2. Apply ATF to all parts.
3. Assemble in the reverse order of disassembly indicated in the table.








Assembly procedure
1. Install the oil strainer into the lower control valve body.





2. Set the oil filter into the lower separator plate.





3. Set the new gasket E, lower separator plate, and new gasket F on the lower control valve body. Refer to the figure to distinguish the two gaskets.





4. Set the premain control valve body onto the lower control valve body.
5. Install and hand-tighten the bolts shown in the figure. Each type of bolt has a different letter on its head. Match the bolt letter with the letter stamped next to its installation hole on the valve body.





6. Install the oil strainer and rubber balls into the premain control valve body.





7. Install the rubber balls into the main control valve body.





8. Set the new gasket C, main separator plate, and new gasket D on the main control valve body. Refer to the figure to distinguish the two gaskets.





9. Tighten the screws.

Tightening torque
1.3 - 1.8 Nm (13 - 19 kgf-cm, 12 - 16 in-lbf)

10. Set the main control valve body onto the premain control valve body.
11. Install and hand-tighten the bolts shown in the figure. Each type of bolt has a different letter on its head. Match the bolt letter with the letter stamped next to its installation hole on the valve body.





12. Install the oil strainer into the upper control valve body.





13. Set the oil filter into the upper separator plate.
14. Install the jet orifice and nut to the upper separator plate.





15. Set the new gasket B, upper separator plate, and new gasket A on the upper control valve body. Refer to the figure to distinguish the two gaskets.





16. Tighten the screws.

Tightening torque
1.3 - 1.8 Nm (13 - 19 kgf-cm, 12 - 16 in-lbf)

17. Set the upper control valve body onto the main control valve body.
18. Install and hand-tighten the bolts shown in the figure. Each type of bolt has a different letter on its head. Match the bolt letter with the letter stamped next to its installation hole on the valve body.





19. Tighten the Upper, main, and lower control valve body.

Tightening torque
7.9 - 10.7 Nm (80 - 110 kgf-cm, 70 - 95.4 in-lbf)

20. Apply ATF to new O-rings and install them onto the solenoid valve.
21. Install the solenoid valve.

Tightening torque
7.9 - 10.7 Nm (80 - 110 kgf-cm, 70 - 95.4 in-lbf)

22. Apply ATF to new O-rings and install them onto the oil pipe.
23. Install the oil pipe.

Tightening torque
7.9 - 10.7 Nm (80 - 110 kgf-cm, 70 - 95.4 in-lbf)

24. Apply ATF to new O-rings and install them onto the oil strainer.
25. Install the oil strainer.

Tightening torque
7.9 - 10.7 Nm (80 - 110 kgf-cm, 70 - 95.4 in-lbf)