Operation CHARM: Car repair manuals for everyone.
Manuals through 2025 now available!

Our trusted friends have launched a new website named LEMON, which has newer manuals. It also contains all the CHARM manuals.

LEMON is the spiritual successor to CHARM, I recommend you try it!

Link: lemon-manuals.la or lemon-manuals.org.ua

(Some people have issue connecting. LEMON is investigating. For now, use Firefox or change your DNS server)

Or, hide this message: temporarily or permanently

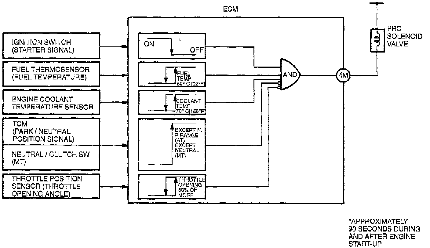
Pressure Regulator Control System




Description
This system cancels the vacuum applied to the pressure regulator and increases the fuel pressure during hot engine start-up and for a period immediately following engine start-up. This improves hot starting as well as providing smooth idle.

Operation
To prevent vapor-lock during hot restart idle, vacuum to the pressure regulator is momentarily cut, and fuel injection pressure is increased.