Operation CHARM: Car repair manuals for everyone.
Manuals through 2025 now available!

Our trusted friends have launched a new website named LEMON, which has newer manuals. It also contains all the CHARM manuals.

LEMON is the spiritual successor to CHARM, I recommend you try it!

Link: lemon-manuals.la or lemon-manuals.org.ua

(Some people have issue connecting. LEMON is investigating. For now, use Firefox or change your DNS server)

Or, hide this message: temporarily or permanently

Timing Belt: Service and Repair






Part 2 Of 2:





TIMING BELT REMOVAL / INSTALLATION

WARNING: Continuous exposure with USED engine oil has caused skin cancer in laboratory mice. Protect your skin by washing with soap and water immediately afer this work.

1. Disconnect the negative battery cable.
2. Remove the right front wheel.
3. Remove in the order shown in the figure, referring to Removal note.
4. Install in the reverse order of removal, referring to Installaton Note.





Removal Note - P/S oil pump and hose
1. Remove the P/S oil pump with the hoses still connected.
2. Position the pump away from the engine and affix it with wire.





Crankshaft pulley
1. Hold the crankshaft pulley by using the SST.
2. Loosen the crankshaft pulley bolt.
3. Remove the crankshaft pulley bolt and the crankshaft pulley.





Cylinder head cover
1. Loosen the cylinder head cover bolts in five or six steps in the order shown.
2. Remove the cylinder head cover bolts.
3. Remove the cylinder head cover.





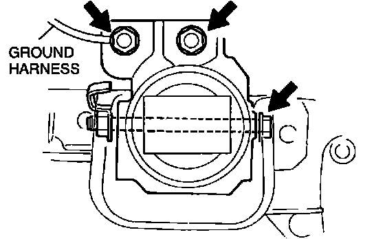
No.3 engine mount rubber
1. Suspend the engine by using the SST





2. Remove the ground harness.
3. Remove the No.3 engine mount rubber.





Timing belt
1. Install the crankshaft pulley bolt.
2. Turn the crankshaft to align the matching marks of the pulleys as shown.





3. Turn the tensioner clockwise by using an Allen wrench.
4. Disconnect the tensioner spring from the hook pin.





Caution: The following will damage the belt and shorten its life; Forcefully twisting it, turning it inside out, bending it, or allowing oil or grease on it.

5. When the belt will be reused, mark its rotation for proper reinstallation.
6. Remove the timing belt.
7. Check the timing belt for damage, wear, peeling, cracks and hardening. Replace the timing belt if necessary.

Installation Note
Timing belt






1. Turn the crankshaft clockwise and align the timing marks as shown.





Note: The timing marks (grooves) can also be used to align the pulleys.





2. Verify that the camshaft pulley I and E marks are aligned with the cylinder head upper line.





3. Install the timing belt so that there is no looseness at the idler side or between the two camshaft pulleys.





4. Turn the crankshaft clockwise two turns, and align the timing marks.
5. Verify that all timing marks are correctly aligned. If not aligned, remove the timing belt and repeat from step 1.





6. Turn the tensioner clockwise by using an Allen wrench and connect the tensioner spring to the hook pin. Verify that tension is applied to the timing belt.





7. Turn the crankshaft clockwise two turns, and verify that all timing marks are aligned. If not aligned, repeat from step 1.





No.3 engine mount rubber
1. Install the No.3 engine mount rubber.

Tightening torque
Bolt: 86-116 N.m {8.7-11.9 kgf.m, 63-86.0 ft.lb}
Nut: 74-102 N.m (7.5-10.5 kgf.m, 55-75.9 ft.lb}






2. Install the ground harness.

Tightening torque:
64-89 N.m {6.5-9.1 kgf.m, 48-65 ft.lb}






3. Remove the SST from the engine.