Operation CHARM: Car repair manuals for everyone.
Manuals through 2025 now available!

Our trusted friends have launched a new website named LEMON, which has newer manuals. It also contains all the CHARM manuals.

LEMON is the spiritual successor to CHARM, I recommend you try it!

Link: lemon-manuals.la or lemon-manuals.org.ua

(Some people have issue connecting. LEMON is investigating. For now, use Firefox or change your DNS server)

Or, hide this message: temporarily or permanently

Starter Relay: Testing and Inspection






CENTRAL PROCESSING UNIT (CPU)

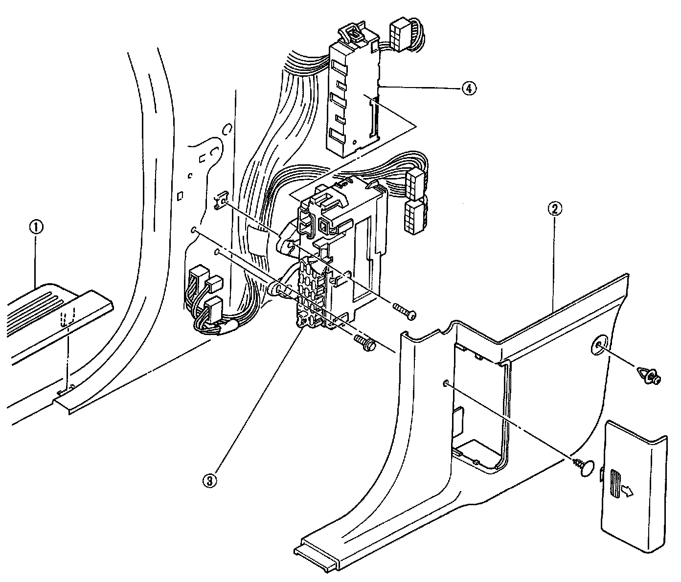
Removal/Installation
1 Remove in the order shown in the figure.
2. Install in the reverse order of removal.
1. Scuff plate
2. Front side trim
3. Joint box
4. CPU Inspection..
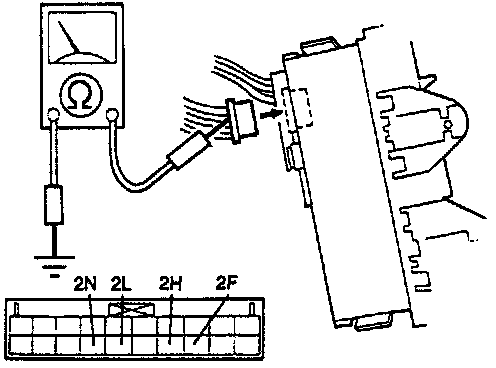
Inspection
(16 pin connector)
1. Remove the CPU from the joint box.











2. Measure the voltage at the terminals of the CPU connector on the joint box.
3. If not as specified, repair the wiring harness.











4. Check for continuity between the terminals of the CPU connector on the joint box and ground.
5. If not as specified, repair the wiring harness.
(20-pin connector)











1. Measure the voltage at the terminals of the CPU connector.
2. If not as specified, repair the wiring harness.











3. Check for continuity between the terminals of the CPU connector and ground.
4. If not as specified, repair the wiring harness.