Operation CHARM: Car repair manuals for everyone.
Manuals through 2025 now available!

Our trusted friends have launched a new website named LEMON, which has newer manuals. It also contains all the CHARM manuals.

LEMON is the spiritual successor to CHARM, I recommend you try it!

Link: lemon-manuals.la or lemon-manuals.org.ua

(Some people have issue connecting. LEMON is investigating. For now, use Firefox or change your DNS server)

Or, hide this message: temporarily or permanently

Air Bag Control Module: Service and Repair








CAUTION
Connecting the SAS unit connector before installing the SAS unit is dangerous. The shock of installation can cause the air bags to deploy, which may seriously injure you. Before connecting the SAS unit connector, firmly mount the SAS unit to the vehicle.



GENERAL PROCEDURES

Before Servicing

1. Turn the ignition switch to LOCK.
2. Disconnect the negative battery cable and wait for more than one minute to allow the backup power supply to deplete its stored power.
3. Remove the column cover.





4. Disconnect the orange and blue clock spring connectors.
5. Remove the glove compartment cover.





6. Disconnect the orange and blue passenger-side air bag module connector.








SAS UNIT

Removal / Installation


Warning
Handling the SAS unit improperly can accidently deploy the air bags, which may seriously injure you. Read SERVICE WARNINGS before handling the SAS unit.


1. Carry out the "Before Servicing" procedure.
2. Remove the center lower panel.





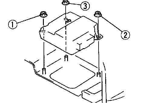
3. Remove in the order shown in the figure.





4. Install in the reverse order of removal.





5. Follow the troubleshooting flowchart to verify that the air bag system is operating normally.
6. Perform the Deployment Authorization Procedures when installing a new SAS unit.

Installation note

Tighten the bolts in the order shown in the figure.
Tightening torque:

7.9-11.7 N.m (8O - 12O kgf.cm, 70 - 104 in.lbf)


After Servicing

1. Connect the negative battery cable.





2. Turn the ignition switch to ON.
3. Verify that the air bag system warning light illuminates for approximately 6 seconds and then goes off.