Operation CHARM: Car repair manuals for everyone.
Manuals through 2025 now available!

Our trusted friends have launched a new website named LEMON, which has newer manuals. It also contains all the CHARM manuals.

LEMON is the spiritual successor to CHARM, I recommend you try it!

Link: lemon-manuals.la or lemon-manuals.org.ua

(Some people have issue connecting. LEMON is investigating. For now, use Firefox or change your DNS server)

Or, hide this message: temporarily or permanently

Fuel Filter: Service and Repair

FUEL FILTER, PRC SOLENOID VALVE, FUEL PUMP RELAY

WARNING: Fuel line spills and leaks are dangerous. Fuel can ignite and cause serious injuries or death and damage. Fuel can also irritate skin and eyes. To prevent this, always complete the "Fuel Line Safety Procedures".

NOTE: The fuel filter must be replaced at the intervals outlined in the maintenance schedule.

- Disconnect the negative battery cable.
- Remove in the order shown in the figure, referring to Removal note.
- Install in the reverse order of removal, referring to Installation note.




1. Air intake hose




2. Fuel hoses
3. Fuel filter (high pressure side)
4. Resonance chamber
5. PRC solenoid valve (Except California)
6. Fuel pump relay

FUEL PUMP RELAY
Before removing the fuel pump relay, remove the rear console, front console and side wall.

INSTALLATION NOTE
Fuel Hoses
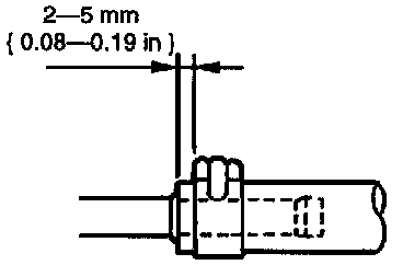
- Push the ends of the fuel hoses onto the fittings until it stops.
- Install the clip on the fuel hoses.

Specification: 2 - 5mm (0.08 - 0.19in) from the end of hose