Operation CHARM: Car repair manuals for everyone.
Manuals through 2025 now available!

Our trusted friends have launched a new website named LEMON, which has newer manuals. It also contains all the CHARM manuals.

LEMON is the spiritual successor to CHARM, I recommend you try it!

Link: lemon-manuals.la or lemon-manuals.org.ua

(Some people have issue connecting. LEMON is investigating. For now, use Firefox or change your DNS server)

Or, hide this message: temporarily or permanently

Air Bag Control Module: Service and Repair





Caution


Connecting the SAS unit connector before installing the SAS unit is dangerous. The shock of installation can cause the air bags to deploy, which may seriously injure you. Before connecting the SAS-unit connector, firmly mount the SAS unit to the vehicle.



GENERAL PROCEDURES

Before Servicing

1. Turn the ignition switch to LOCk.
2. Disconnect the negative battery cable and wait for more than one minute to allow the backup power supply to deplete its stored power.





3. Disconnect the orange and blue clock spring connectors.
4. Remove the passenger-side scuff plate and front side trim.
5. Disconnect the orange and blue passenger-side air bag module connector.


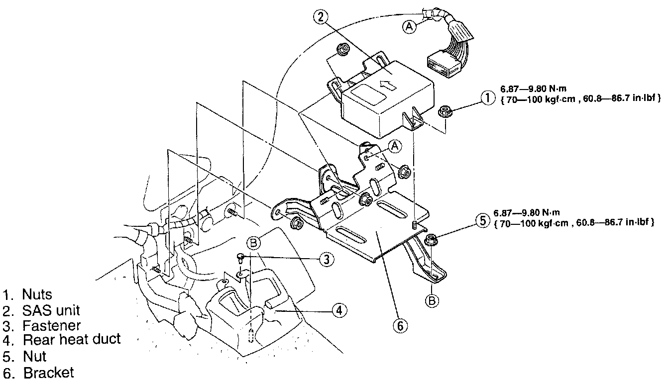
SAS UNIT

Removal / Installation


Warning

Handling the SAS unit improperly can accidently deploy the air bags, which may seriously injure you. Read SERVICE WARNINGS before handling the SAS unit.


1. Carry out the "Before Servicing" procedure under GENERAL PROCEDURES.
2. Remove the heater unit.






3. Remove in the order shown in the figure.
4. Install in the reverse order of removal, referring to Installation note.






5. Follow the troubleshooting flowchart to verify that the air bag system is operating normally.

Installation note

SAS unit and bracket






1. Locate the SAS unit and bracket with the arrow on the SAS unit facing toward the front of vehicle. Install them and tighten the nuts to the specified torque.
2. If the mounting area is damaged, carefully repair the area to its original shape before installation.

After Servicing

1. Connect the negative battery cable.
2. Turn the ignition switch to ON.





3. Verify that the air bag system warning light illuminates for 4-8 seconds and then goes off.