Operation CHARM: Car repair manuals for everyone.
Manuals through 2025 now available!

Our trusted friends have launched a new website named LEMON, which has newer manuals. It also contains all the CHARM manuals.

LEMON is the spiritual successor to CHARM, I recommend you try it!

Link: lemon-manuals.la or lemon-manuals.org.ua

(Some people have issue connecting. LEMON is investigating. For now, use Firefox or change your DNS server)

Or, hide this message: temporarily or permanently

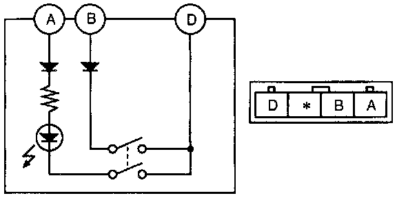
A/C Switch







1. Remove the A/C switch.
2. Check for continuity between the A/C switch terminals by using an ohmmeter.
3. Connect battery positive voltage to terminal A and ground to terminal D.
4. Turn the A/C switch on.
5. Verify that the LED illuminates.
6. If not as specified, replace the A/C switch.