Operation CHARM: Car repair manuals for everyone.
Manuals through 2025 now available!

Our trusted friends have launched a new website named LEMON, which has newer manuals. It also contains all the CHARM manuals.

LEMON is the spiritual successor to CHARM, I recommend you try it!

Link: lemon-manuals.la or lemon-manuals.org.ua

(Some people have issue connecting. LEMON is investigating. For now, use Firefox or change your DNS server)

Or, hide this message: temporarily or permanently

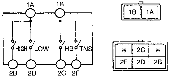
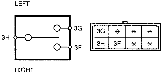
Combination Switch Inspection

1. Remove the column cover.
2. Disconnect the combination switch connectors.
3. Check for continuity between the combination switch terminals by using an ohmmeter.







Headlight Switch







Turn Switch










Windshield Wiper and Washer Switch

4. If not as specified, replace the necessary parts.