Electronic Brake Control Module: Service and Repair
REMOVAL/INSTALLATION1. Remove the charcoal canister.
2. Remove in the order indicated in the table.
3. Install in the reverse order of removal.
NOTE: The ABS hydraulic unit is not purchased as one part. Replace the ABS hydraulic unit and control module component as one assembly part if the ABS hydraulic unit is malfunctioning.
ABS Hydraulic Unit and ABS Control Module Removal/Installation Note (3)
- When removing/installing the ABS hydraulic unit and ABS control module from/to the vehicle, attach protective tape on the HU connector to prevent brake fluid from entering.
ABS Control Module Removal Note (4)
1. Install the screw plugs (supplied in the service part kit) onto the brake pipe holes of the HU.)
2. Disconnect the motor connector as follows.
CAUTION: Do not apply force on the looking tab when disconnecting the connector.
(1) Lift up the tab to unlock the connector by hand.
(2) Pull the connector from the ABS CM by grasping the side of the motor connector.
3. Carefully pull the wiring of the pump motor out of the cable guides.
4. Secure the HU as shown.
5. Remove the bolts.
6. Protect the HU from damage to the valve body and keep the sealing surface free from foreign materials.
ABS Control Module Installation Note (4)
1. Verify that the sealing surface of the HU is clean. If there are scratches, grooves or dirt, do not mechanically rework. Carefully remove any dirt or seal residue with plastic tools only.
2. The use of chemical solvents is not permitted. Install the spring plate properly. When re-installing, insert the spring plate over the valve bodies in the correct position to preload the spring and to center the solenoid coils.
3. Carefully fit the coils of the ABS CM over the valve bodies.
4. Locate the ABS CM by placing the new bolts evenly against the housing and tightening them slightly by hands. To aid alignment, the housing may be pressed onto the contact surface by hand while tightening the bolts.
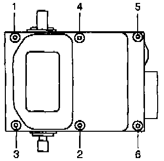
5. Tighten the bolts to the specified torque in the order shown.
Tightening torque: 2.4 - 2.8 Nm (21 - 24 inch lbs.)
6. Visually inspect for all bolts mode contact. The ABS CM must be flush against the housing with no gap in the area of the bolts.
7. Connect the 2-pin connector of the pump motor to the ABS CM. Verify that the spring clip is engaged securely.
8. Clip the wiring back in the cable guide.
9. Reinsert the soft mount if it is fallen out.
10. Inspect flats of two side retaining bolts and position flats vertically by turning bolts as necessary.