Manuals through 2025 now available!
Our trusted friends have launched a new website named LEMON, which has newer manuals. It also contains all the CHARM manuals.
LEMON is the spiritual successor to CHARM, I recommend you try it!
Link:
lemon-manuals.la or
lemon-manuals.org.ua
(Some people have issue connecting. LEMON is investigating. For now, use Firefox or change your DNS server)
Or, hide this message:
temporarily or
permanently
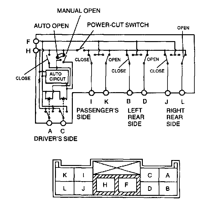
Power Window Main Switch
1.
Disconnect the negative battery cable.
2.
Remove the driver's side front door trim.
3.
Inspect for the continuity between the power window main switch terminals by using an ohmmeter.
4.
When checking the driver's side, connect the battery positive voltage to terminal H and connect the ground to the terminal F.
5.
If not as specified, replace the power window main switch.