Operation CHARM: Car repair manuals for everyone.
Manuals through 2025 now available!

Our trusted friends have launched a new website named LEMON, which has newer manuals. It also contains all the CHARM manuals.

LEMON is the spiritual successor to CHARM, I recommend you try it!

Link: lemon-manuals.la or lemon-manuals.org.ua

(Some people have issue connecting. LEMON is investigating. For now, use Firefox or change your DNS server)

Or, hide this message: temporarily or permanently

Fuel Pressure Regulator Control Inspection

WARNING: Fuel line spills and leaks are dangerous. Fuel can ignite and cause serious injuries or death and damage. Fuel can also irritate skin and eyes.




1. Install the fuel pressure gauge.
2. Measure the fuel pressure under the following conditions:




3. If the fuel pressure is not within the specification, carry out either Inspection 1 or Inspection 2 as required.




INSPECTION 1
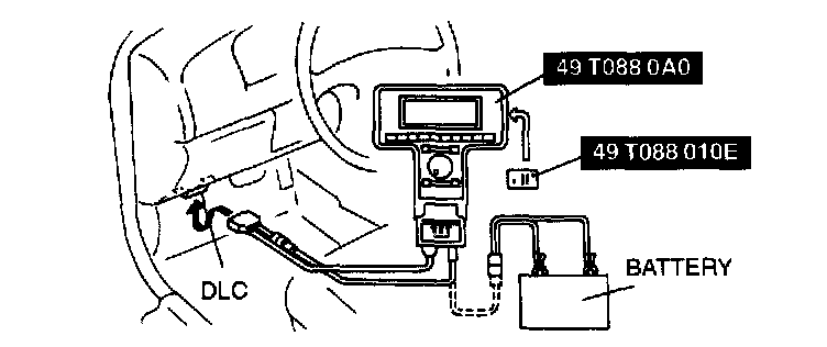
1. Connect the NGS tester to the DLC.
2. Access the following PIDs.
- ECT PID.
- IAT PID.
- TP V PID.

3. Check PID value.
4. If okay, check:
- Pressure regulator.
- PRC solenoid valve.
- Wiring between PRC solenoid valve and PCM terminal 19 (open circuit).
- Wiring between main relay and PRC solenoid valve (open circuit).




INSPECTION 2
1. Connect the NGS tester to the DLC.
2. Access the following PIDs.
- ECT PID.
- AT PID.

3. Check PRC value.
4. If okay, check:
- Loose or damaged vacuum hose between the pressure regulator, PRC solenoid valve and intake manifold.
- PRC solenoid valve.
- Wiring between PRC solenoid valve and PCM terminal 19 (short circuit).