Throttle Position Sensor: Adjustments
CAUTION: The throttle position sensor is adjusted at the factory before shipment. Unnecessary adjustment will negatively effect the engine performance. Adjusting the throttle position sensor by using the throttle adjusting screw will negatively effect the engine performance.1. Verify that the throttle valve is at the closed throttle position.
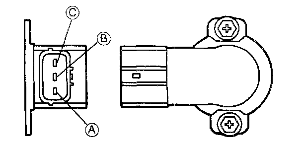
2. Disconnect the throttle position sensor connector.
3. Turn the ignition switch to ON.
4. Measure the voltage at harness side connector terminal A by using an ohmmeter and record it.
Specification: 4.5-5.5 V
5. Turn the ignition switch to OFF.
6. Connect the throttle position sensor connector.
7. Loosen the attaching screws.
USING THE SST 104 PIN BREAKOUT BOX
Check in the following order:
(1) Remove the PCM.
(2) Connect the SST 104 Pin Breakout Box to the PCM as shown.
(3) Tighten the connector bolt.
Tightening torque: 7.9-10.7 Nm (69.5-95.4 in.lbs.)
(4) Verify that the throttle valve is at the closed throttle position.
(5) Turn the ignition switch to ON.
(6) Rotate the throttle link by hand and adjust the PCM terminal 89 voltage to specification.
(7) Tighten the attaching screws.
Specification: 1.6-2.3 Nm (14-21 in.lbs.)
(8) When the throttle valve is at the wide open throttle, verify that the PCM terminal 89 voltage is in the specification.
(9) If not as specified, check related wiring harness. If they are okay, replace the throttle body.
USING THE NGS TESTER
Check in the following order:
(1) Connect the New Generation Star tester to the data link connector.
(2) Verify that the throttle valve is at the closed throttle position.
(3) Turn the ignition switch to ON.
(4) Select the " PID/DATA MONITOR AND RECORD" function on the NGS tester display and press TRIGGER.
(5) Select "TP V" on the NGS tester display and press START. The NGS tester measures and shows the voltage.
(6) Tighten the attaching screws.
Specification: 1.6-2.3 Nm (14-21 in.lbs.)
(7) When the throttle valve is at the wide open throttle, verify that the "TP V" voltage is in the specification.
(8) If not as specified, check related wiring harness. If they are okay, replace the throttle body.