Operation CHARM: Car repair manuals for everyone.
Manuals through 2025 now available!

Our trusted friends have launched a new website named LEMON, which has newer manuals. It also contains all the CHARM manuals.

LEMON is the spiritual successor to CHARM, I recommend you try it!

Link: lemon-manuals.la or lemon-manuals.org.ua

(Some people have issue connecting. LEMON is investigating. For now, use Firefox or change your DNS server)

Or, hide this message: temporarily or permanently

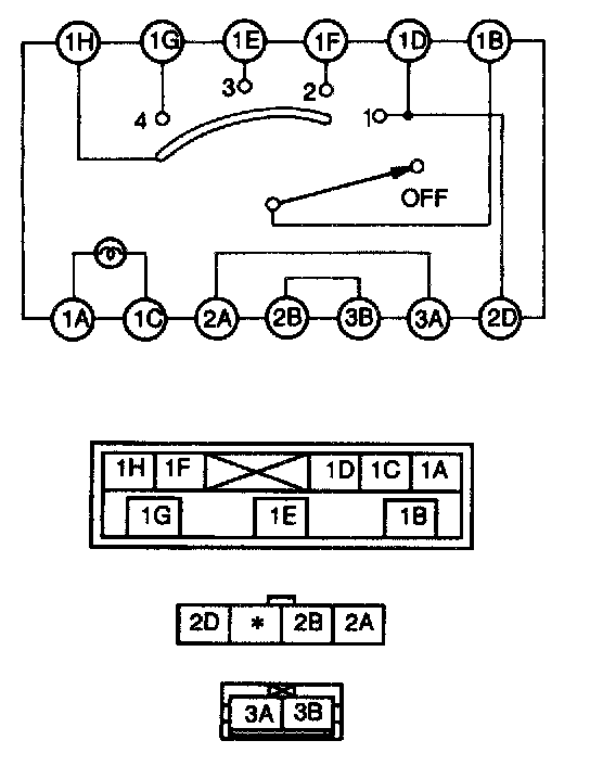
Control Assembly: Testing and Inspection

Front Fan Switch




1. Remove the heater control unit.




2. Check for continuity between the front fan switch terminals by using an ohmmeter.
3. If not as specified, replace the front fan switch.

A/C Switch
1. Remove the A/C switch.







2. Check for continuity between the A/C switch terminals by using an ohmmeter.
3. Connect battery positive voltage to terminal A and ground to terminal D.
4. Turn the A/C switch on.
5. Verify that the LED illuminates.
6. If not as specified, replace the A/C switch.