Operation CHARM: Car repair manuals for everyone.
Manuals through 2025 now available!

Our trusted friends have launched a new website named LEMON, which has newer manuals. It also contains all the CHARM manuals.

LEMON is the spiritual successor to CHARM, I recommend you try it!

Link: lemon-manuals.la or lemon-manuals.org.ua

(Some people have issue connecting. LEMON is investigating. For now, use Firefox or change your DNS server)

Or, hide this message: temporarily or permanently

Timing Belt: Service and Repair


CAUTION: The crankshaft position sensor rotor is on the rear of the crankshaft pulley, and can be damaged easily.





1. Disconnect the negative battery cable.
2. Remove the right front wheel.





3. Remove in the order indicated in the table.
4. Install in the reverse order of removal.
5. Start the engine and
1) inspect the pulleys and the timing belt for runout and contact.
2) inspect the ignition timing.

No.3 ENGINE MOUNT BRACKET REMOVAL NOTE





- Support the engine by using the SST.

PULLEY BOSS, TIMING BELT REMOVAL NOTE





NOTE:
- Mark the timing belt rotation on the belt for proper installation.

1. By using the SST, remove the pulley lock bolt.





2. Remove the Alley hen.





CAUTION:
- The following will damage the belt and shorten its life. Forcefully twisting it, turning it inside out, or allowing oil or grease on it.

3. Loosen the tensioner pulley lock bolt.





4. Pull the tensioner pulley in the direction of the arrow to reduce tension of the timing belt, and remove the belt.





TENSIONER PULLEY, TENSIONER SPRING INSTALLATION NOTE
1. Measure the tensioner spring free length. If not within the specification, replace the tensioner spring.

Free length:
59.2 mm (2.33 inch)


2. Install the tensioner and the tensioner spring.





3. Temporarily secure the tensioner with the spring fully extended.

PULLEY BOSS, TIMING BELT INSTALLATION NOTE





1. Verify that all timing marks are correctly aligned.





2. Install the timing belt on the pulleys in the order shown below.





3. Install the pulley boss and pulley lock bolt. Turn the crankshaft clockwise 1 and 5/6 times, and verify that the timing mark on the timing belt pulley is aligned with timing mark A (tensioner set mark).
4. Loosen the tensioner lock bolt to apply tension to the timing belt. Do not apply tension other than that of the tensioner spring.





5. Tighten the tensioner pulley lock bolt.

Tightening torque:
38 - 51 Nm (28 - 38 ft. lbs.)






6. Turn the crankshaft 2 and 1/6 times clockwise, and verify that all timing marks are correctly aligned.

NOTE:
- The pin on the pulley boss must face upward.





7. Verify the belt deflection at the point indicated by applying moderate pressure 98 N (22 lbs.).

Deflection:
8.5 - 11.5 mm (0.34 - 0.45 inch)


8. If the timing belt deflection is not correct, remove the timing belt and repeat from step 1.





9. Mount the SST on the pulley boss to hold the crankshaft. Tighten the lock bolt.

Tightening torque:
157 - 166 Nm (116 - 122 ft. lbs.)


10. Remove the SST.

No.3 ENGINE MOUNT BRACKET INSTALLATION NOTE





1. Install the No.3 engine mount bracket.

Tightening torque:
A: 19 - 22 Nm (14 - 16 ft. lbs.)
B: 67 - 93 Nm (50 - 68 ft. lbs.)
C: 75 - 104 Nm (55.0 - 77.3 ft. lbs.)


2. Remove the SST (Engine support).

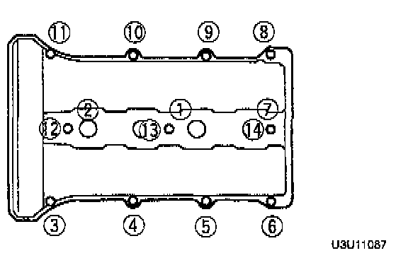
CYLINDER HEAD COVER INSTALLATION NOTE





1. Verify that the grooves on the cylinder head cover are free of oil, water and other foreign material.
2. Install the new cylinder head cover gasket into the cylinder head cover.

CAUTION:
^ Silicone sealant hardens and causes oil leakage when it is left for an extended period. Therefore, install parts before sealant hardens.





3. Apply silicone sealant to the shaded areas shown.





4. Install the cylinder head cover and tighten the bolts in five or six steps in the order shown.

Tightening torque:
5.0 - 8.8 Nm (44 - 78 inch lbs.)