Transmission Position Sensor/Switch: Testing and Inspection
TRANSAXLE RANGE SWITCH INSPECTION1. Disconnect the negative battery cable.
2. Remove the battery, air cleaner component, and battery carrier.
3. Disconnect the transaxle range switch connector.
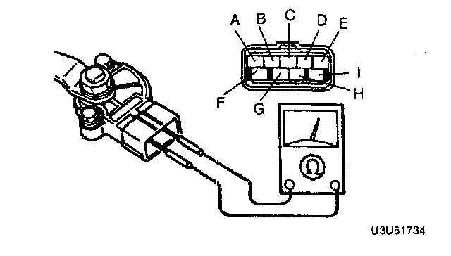
4. Inspect for continuity at the transaxle range switch.
5. If not as specified, replace or adjust the transaxle range switch.
6. Connect the transaxle range switch connector.
7. Install the battery carrier, air cleaner component, and battery.
8. Connect the negative battery cable.