Operation CHARM: Car repair manuals for everyone.
Manuals through 2025 now available!

Our trusted friends have launched a new website named LEMON, which has newer manuals. It also contains all the CHARM manuals.

LEMON is the spiritual successor to CHARM, I recommend you try it!

Link: lemon-manuals.la or lemon-manuals.org.ua

(Some people have issue connecting. LEMON is investigating. For now, use Firefox or change your DNS server)

Or, hide this message: temporarily or permanently

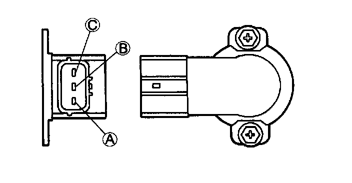
Inspection of Resistance




1. Disconnect the battery negative cable.
2. Disconnect the throttle position sensor connector.
3. Using an ohmmeter, measure the resistance between throttle position sensor terminal A and C.
- If not as specified, replace the throttle position sensor.

Specification: 4.0 - 6.0 kohms

5. Reconnect the throttle position sensor connector.