Operation CHARM: Car repair manuals for everyone.
Manuals through 2025 now available!

Our trusted friends have launched a new website named LEMON, which has newer manuals. It also contains all the CHARM manuals.

LEMON is the spiritual successor to CHARM, I recommend you try it!

Link: lemon-manuals.la or lemon-manuals.org.ua

(Some people have issue connecting. LEMON is investigating. For now, use Firefox or change your DNS server)

Or, hide this message: temporarily or permanently

Compressor Clutch: Service and Repair

Removal Note
1. Remove the A/C compressor




2. Remove the A/C clutch hub retaining bolt.
1. Hold the A/C clutch hub with the Spanner Wrench SST 49-UN-10 -042.
2. Remove the bolt.




3. Remove the A/C clutch and the A/C clutch hub spacer.
1. Thread an 8 x 1.25 mm bolt into the A/C clutch to force it from the compressor shaft.
2. Lift the A/C clutch and the A/C clutch hub spacer from the compressor shaft.




4. Remove the pulley snap ring.




5. Remove the A/C clutch pulley.

CAUTION: Do not use air tools. The A/C clutch field coil can be easily damaged.

6. Remove the A/C clutch field coil.
1. Mark the location of the A/C clutch field coil electrical connector.
2. Install Shaft Protector Tool for Coil Removal SST 49 UN01- 047 on the nose opening of the A/C compressor.
3. Install a 2-jaw puller on the compressor with tip of the puller forcing screw in the center pilot. Place the jaws of the puller around the back edge of the field coil. Tighten the puller forcing screw to pull coil from compressor.




7. Remove the A/C clutch field coil.

Installation Note
1. Clean the A/C clutch field coil and pulley bearing mounting surfaces.

CAUTION: Do not use air tools. The A/C clutch field coil can be easily damaged.

2. Install the A/C clutch field coil.
1. Place the A/C clutch field coil on the A/C compressor with the A/C clutch field coil electrical connector properly positioned.
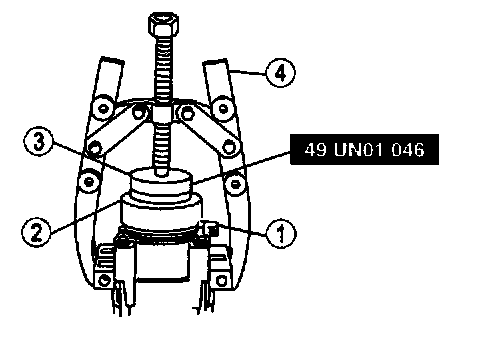
2. Place the Field Coil Replacer 412-078 -91L-1 9623-CH) or equivalent on the A/C clutch field coil.
3. Place the Coil Pressing Tool SST 49 UN01 046 on the Field Coil Replacer.




4. Use a 2-Jaw Puller to install the A/C clutch field coil until bottomed completely against the A/C compressor.

NOTE: The bearing is a tight fit on the A/C compressor head; it must be properly aligned to push on.




3. Install the A/C clutch pulley.




4. Install the pulley snap ring with the bevel side out.




5. Place one nominal thickness A/C clutch hub spacer inside the clutch hub spline opening.




6. Install the A/C clutch.




7. Install the A/C clutch hub retaining bolt.
1. Hold the A/C clutch hub with the Spanner Wrench SST 49-UNO1-042.
2. Tighten the bolt.




8. Measure and adjust the clutch air gap by removing or adding A/C clutch hub spacers.
9. Install the A/C compressor.