Operation CHARM: Car repair manuals for everyone.
Manuals through 2025 now available!

Our trusted friends have launched a new website named LEMON, which has newer manuals. It also contains all the CHARM manuals.

LEMON is the spiritual successor to CHARM, I recommend you try it!

Link: lemon-manuals.la or lemon-manuals.org.ua

(Some people have issue connecting. LEMON is investigating. For now, use Firefox or change your DNS server)

Or, hide this message: temporarily or permanently

Front Wheel Alignment

Camber and Caster Adjustment





1. Remove the nuts and alignment plates.





2. Install the service cams and nuts.

Note:
- A pry bar can be used between the front suspension arm bushing joint and the frame pocket to aid in moving the arm.
- When adjusting the RF camber/caster, adjustment at the RF lower control arm adjustment cam is not recommended.





3. To increase caster and camber, use the following steps.
1) To increase caster, move the front of the front suspension arm bushing joint outboard and move the rear of the front suspension arm bushing joint inboard.
2) To increase camber, move the front suspension arm brushing joint outboard equally.





4. To decrease caster and camber, use the following steps.
1) To decrease caster, move the front of the front suspension arm bushing joint inboard and move the rear of the front suspension arm bushing joint outboard.
2) To decrease camber, move the front suspension arm bushing joint inboard equally.





5. Tighten the nuts.





6. This lower suspension arm caster split adjuster is to, factory use only. It is not recommended for adjustment in the field.


Toe Adjustment





1. Start the engine and center the steering wheel.
2. Turn the engine off, and hold the steering wheel in the "straight forward" position by attaching a rigid link from the steering wheel to the brake pedal.
3. Check the toe settings.

Note: Do not allow the steering gear bellows to twist when the front wheel spindle tie rod is rotated.





4. Remove the clamps.





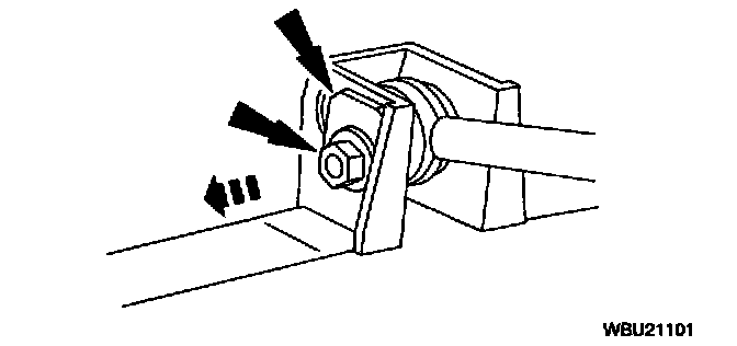
5. Loosen the nuts. Clean and lubricate the nut(s) and front wheel spindle tie rod threads.
6. Rotate the front wheel spindle tie rods.





7. Tighten the nuts.
8. Install the clamps.
9. Recheck the toe settings; refer to 02-50 SPECIFICATIONS, page 02-50-1.

Ride Height Adjustment
1. Drive the vehicle onto a runway lift.
2. Jounce the vehicle's front and rear suspension to normalize the vehicle static ride height.





3. Measure the distance between the front suspension lower arm bushing center bolt and the runway lift. Record measurement.





4. Measure the distance between the front suspension lower arm (lowest point) and the runway lift. Record the measurement.





5. Determine ride height.
1) Subtract measurement 1 from measurement 2. This is the ride height.

Note: The torsion bar adjusting bolt is coated with Loctite that wears off after disassembly. If the torsion bar system is ever disassembled or the torsion bar adjusting bolt is ever removed, use a new torsion bar adjusting bob when re-assembling.





6. Adjust the torsion bars (height) as necessary by tightening or loosening the torsion bar adjusting bolt.
1) Tighten the torsion bar adjusting bolt to increase the torque or raise the height.
2) Loosen the torsion bar adjusting bolt to decrease the torque or lower height.