Operation CHARM: Car repair manuals for everyone.
Manuals through 2025 now available!

Our trusted friends have launched a new website named LEMON, which has newer manuals. It also contains all the CHARM manuals.

LEMON is the spiritual successor to CHARM, I recommend you try it!

Link: lemon-manuals.la or lemon-manuals.org.ua

(Some people have issue connecting. LEMON is investigating. For now, use Firefox or change your DNS server)

Or, hide this message: temporarily or permanently

Throttle Position Sensor: Testing and Inspection

Resistance Inspection

NOTE: Perform the following test only when directed.

1. Inspect for throttle valve CTP and accelerator cable free play (Refer to INTAKE-AIR SYSTEM, ACCELERATOR CABLE INSPECTION.)
Testing and Inspection

- If as specified, inspect resistance of the TP sensor.

2. Disconnect the TP sensor connector.




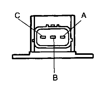
3. Measure the resistance between the TP sensor terminals A and C using an ohmmeter.

Specification: 4 - 6 kOhm

- If not as specified, adjust the TP sensor. (Refer to THROTTLE POSITION (TP) SENSOR ADJUSTMENT.) Adjustments

- If as specified, but PID value or PCM terminal 89 voltage are out of specification, inspect as follows.
1. Remove the PCM.




2. Connect the SST (104 Pin Breakout Box) to the PCM as shown.
3. Tighten the connector attaching screw.

Tightening torque
7.9 - 10.7 Nm (80 - 110 kg.cm, 69.5 - 95.4 in.lb)

4. Inspect for an open or short circuit in the following wiring harnesses by probing the applicable sensor and SST (104 Pin Breakout Box) terminals with ohmmeter leads.
- If there is an open or short circuit, repair or replace wiring harnesses.
- If there is no open or short circuit, replace the TP sensor.




Open circuit
- Reference voltage circuit (TP sensor connector terminal A and PCM connector terminal 90)
- TP signal circuit (TP sensor connector terminal B and PCM connector terminal 89)
- Ground circuit (TP sensor connector terminal C and PCM connector terminal 91)

Short circuit
- Reference voltage circuit (TP sensor connector terminal A and PCM connector terminal 90)
- TP signal circuit (TP sensor connector terminal B and PCM connector terminal 89)

4. Reconnect the TP sensor connector.