Operation CHARM: Car repair manuals for everyone.
Manuals through 2025 now available!

Our trusted friends have launched a new website named LEMON, which has newer manuals. It also contains all the CHARM manuals.

LEMON is the spiritual successor to CHARM, I recommend you try it!

Link: lemon-manuals.la or lemon-manuals.org.ua

(Some people have issue connecting. LEMON is investigating. For now, use Firefox or change your DNS server)

Or, hide this message: temporarily or permanently

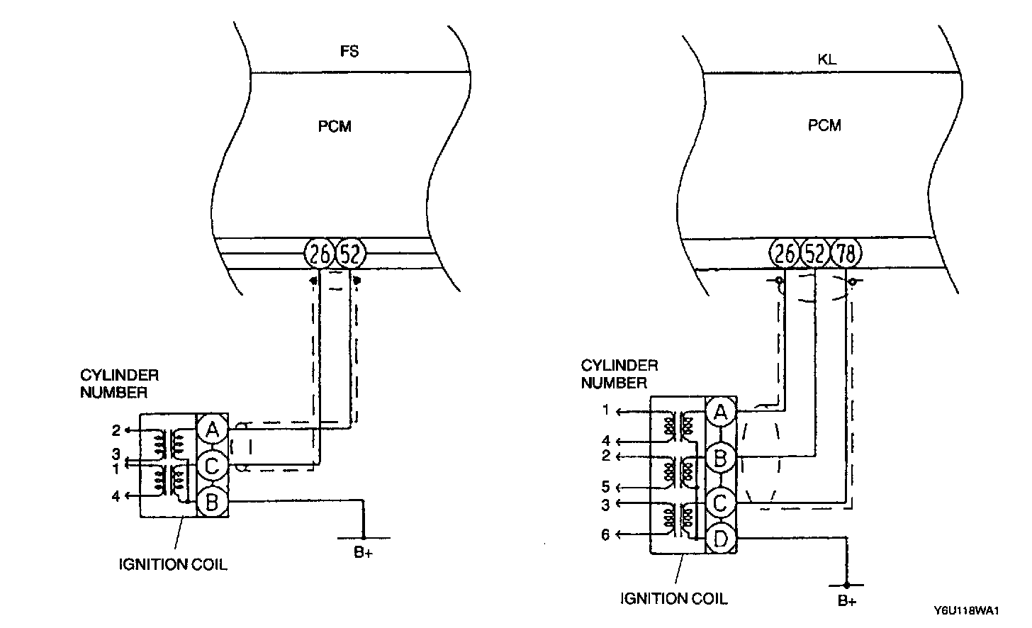
Ignition System: Description and Operation







- The DLI (Distributorless ignition) system has been adopted.
- In the DLI system, a distributor is not used, ignition coil is placed inside at the side of the cylinder head, and the spark plugs are ignited directly by the coil.
- The PCM uses the CKP sensor to indicate crankshaft position and speed by sensing a missing tooth on a pulse wheel mounted to the crankshaft.
- The PCM uses the CMP sensor to identify top dead center of compression of cylinder 1 to synchronize the firing of the individual coils.
- Each coil ignites two spark plugs at the same time.
- The paired plugs are ignited during the compression and exhaust strokes.
- The PCM controls the ignition and ignition timing by controlling coil primary circuit.
- Ignition timing is not adjustable.