Operation CHARM: Car repair manuals for everyone.
Manuals through 2025 now available!

Our trusted friends have launched a new website named LEMON, which has newer manuals. It also contains all the CHARM manuals.

LEMON is the spiritual successor to CHARM, I recommend you try it!

Link: lemon-manuals.la or lemon-manuals.org.ua

(Some people have issue connecting. LEMON is investigating. For now, use Firefox or change your DNS server)

Or, hide this message: temporarily or permanently

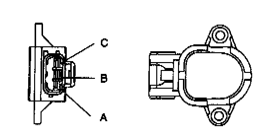
Component Inspection

1. Disconnect the battery negative cable.
2. Disconnect the throttle position sensor connector.




3. Using an ohmmeter, measure the resistance between throttle position sensor terminal A and B.
- If not as specified, replace the throttle position sensor.

Specification : 2.5 - 5.0 kohms


4. Reconnect the throttle position sensor connector.