Operation CHARM: Car repair manuals for everyone.
Manuals through 2025 now available!

Our trusted friends have launched a new website named LEMON, which has newer manuals. It also contains all the CHARM manuals.

LEMON is the spiritual successor to CHARM, I recommend you try it!

Link: lemon-manuals.la or lemon-manuals.org.ua

(Some people have issue connecting. LEMON is investigating. For now, use Firefox or change your DNS server)

Or, hide this message: temporarily or permanently

Alternator: Testing and Inspection

Generator Warning Light
1. Verify that the battery is fully charged.
- Charge if necessary.

2. Verify that the drive belt deflection/tension is correct.
- Adjust if necessary.

3. Turn the ignition switch on and verify that the generator warning light comes on.
- If not, inspect generator warning light, wiring harnesses between the battery, generator warning light, and PCM terminal 98. When the generator warning light and the wiring harnesses are okay, replace the PCM.

4. Verify that the generator warning light goes out after the engine is started.
- If rot, inspect if any of the following DTCs are displayed: P0112, P0113, P1631, P1633, P1634.

Generator

Voltage
1. Verify that the battery is fully charged.
- Charge if necessary.

2. Verify that the drive belt deflection/tension is correct.
- Adjust if necessary.

3. Turn off all electrical loads.
4. Turn the ignition switch to start the engine and verify that the generator rotates smoothly without any noise while the engine is running.




Standard Voltage:




5. Measure the voltage at the terminals shown in the table.
- If not as specified, repair or replace the generator as necessary.

Current
1. Verify that the battery is fully charged.
- Charge if necessary.

2. Verify that the drive belt deflection/tension is correct.
- Adjust if necessary.

3. Disconnect the negative battery cable.
4. Connect an ammeter, capable of reading 120 A or above, between generator terminal B and the wiring harness.
5. Connect the negative battery cable.
6. Turn off all electrical loads.
7. Start the engine and increase the engine speed to 2,000 - 2,500 rpm.
8. Turn the following electrical loads on and verify that the current reading increases.
1. Headlights
2. Blower motor
3. Rear window defroster
- If generator terminal B current will not increase, repair or replace the generator as necessary.

NOTE: Current required for generating power varies with electrical loads applied.

Standard Current (Reference):




Standard Current (Reference)
Measuring conditions
Room temperature: +20 °C {+68 °F}
Voltage: 13.5 V
Engine hot

Generator Inner Parts

Rotor




1. Measure the resistance between the slip rings using an ohmmeter.
- If not as specified, replace the rotor.

Specification
2.1 - 2.5 Ohms [20 °C {68 °F}]




2. Verify that there is no continuity between the slip ring and the core using an ohmmeter.
- If there is continuity, replace the rotor.

3. Inspect the slip ring surface condition.
- If the slip ring surface is rough, use a lathe or fire sandpaper to repair it.

Stator coil




1. Inspect for continuity between the stator coil leads using an ohmmeter.
- If there is no continuity, replace the stator.




2. Verify that there is no continuity between the stator coil leads and the core using an ohmmeter.
- If there is continuity, replace the stator coil.

Brush




1. Inspect brushes for wear.
- If any brush is worn almost to or beyond the limit, replace all of the brushes.

Standard
18.5 mm {0.73 in}

Minimum
5.0 mm (0.20 in}

Brush spring
1. Measure the force of the brush spring using a spring pressure gauge.




2. Read the spring pressure gauge at the brush tip projection of 2 mm {0.079 in}.
- Replace the brush spring if necessary.

Standard force
4.71 - 6.08 N {0.48 - 0.62 kgf, 1.06 - 1.36 lbf}

Minimum
2.2 N (0.22 kgf, 0.48 lbf}

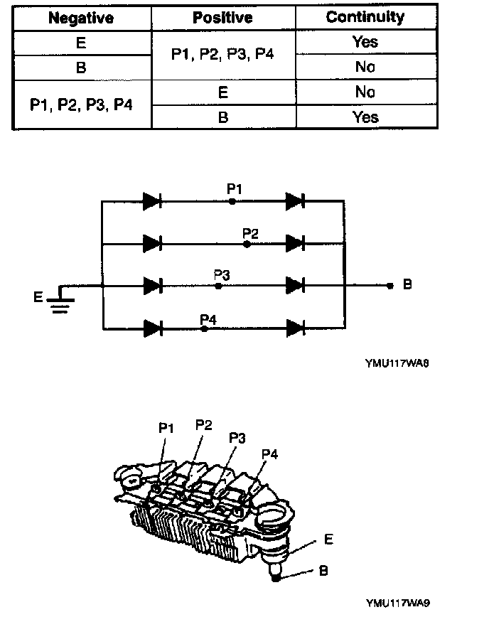
Rectifier

Specification:




1. Inspect for continuity of the diodes using an ohmmeter.
- If not as specified, replace the rectifier.

Bearing




1. Inspect for abnormal noise, looseness, and sticking.
- Replace the bearing if necessary.