Operation CHARM: Car repair manuals for everyone.
Manuals through 2025 now available!

Our trusted friends have launched a new website named LEMON, which has newer manuals. It also contains all the CHARM manuals.

LEMON is the spiritual successor to CHARM, I recommend you try it!

Link: lemon-manuals.la or lemon-manuals.org.ua

(Some people have issue connecting. LEMON is investigating. For now, use Firefox or change your DNS server)

Or, hide this message: temporarily or permanently

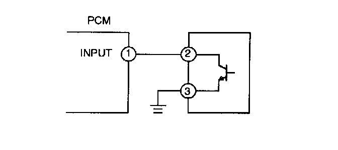
Vehicle Speed Sensor (VSS)




1. Measure the #1 PCM terminal voltage and confirm that it is at 0 V or 5 V when the ignition switch is at ON and the engine at idle.
- If it is at 0 V or 5 V, proceed to "Intermittent Diagnostic Test".

- If not, inspect the following points concerning the PCM connector.
- Female terminal opening loose.
- Coupler (pin holder) damage.
- Harness/pin clamp is loose or disconnected.
- Pin discoloration (blackness).

- If there is no problems, proceed to next step.

2. Measure the #2 sensor terminal voltage and confirm that it is at 0 V or 5 V when the ignition switch is at ON and the engine at idle.
- If it is at 0 V or 5 V, proceed to "Intermittent Diagnostic Test".

- If not, inspect for the following points concerning the sensor connector.
- If there are no problem, proceed to next step.
- Female terminal opening loose.
- Coupler (pin holder) damage.
- Pin discoloration (blackness).
- Harness/pin clamp is loose or disconnected.

3. Confirm that the #3 terminal switch voltage is at 0 V.
- If it is at 0 V, inspect the sensor.
- If necessary, replace the sensor.

- If not at 0 V, inspect for the following points.
- Open circuit in harness.
- Female terminal opening loose.
- Coupler (pin holder) damage.
- Pin discoloration (blackness).
- Harness/pin crimp is loose or disconnected.