Operation CHARM: Car repair manuals for everyone.
Manuals through 2025 now available!

Our trusted friends have launched a new website named LEMON, which has newer manuals. It also contains all the CHARM manuals.

LEMON is the spiritual successor to CHARM, I recommend you try it!

Link: lemon-manuals.la or lemon-manuals.org.ua

(Some people have issue connecting. LEMON is investigating. For now, use Firefox or change your DNS server)

Or, hide this message: temporarily or permanently

EGR Valve: Testing and Inspection

On-vehicle Inspection
1. Carry out the "EGR Control Inspection".
- If not as specified, perform the further inspection for the EGR valve.

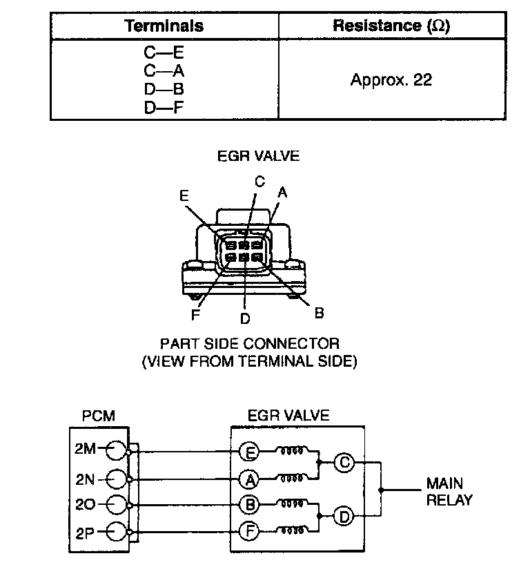
Resistance Inspection

NOTE: Perform the following test only when directed.

1. Disconnect the negative battery cable.

2. inspect resistance of the EGR valve coils.
- If as specified but the "EGR Control Inspection" is failed, inspect the vacuum hoses for improper routing, kinks or leakage, and inspect "Circuit Open/Short Inspection".
- If not as specified, replace the EGR valve.




3. Remove the EGR valve, and inspect for any damage or clogging. If not as specified, replace the EGR valve
4. Connect the negative battery cable.

Circuit Open/Short Inspection

Open circuit





- Ground circuit (EGR valve connector terminal E and PCM connector terminal 2M)
- Ground circuit (EGR valve connector terminal A and PCM connector terminal 2N)
- Ground circuit (EGR valve connector terminal B and PCM connector terminal 2O)
- Ground circuit (EGR valve connector terminal F and PCM connector terminal 2P)
- Power circuit (EGR valve connector terminal C or D and main relay connector terminal D through common connector)

Short circuit
- EGR valve connector terminal E and PCM connector terminal 2M to ground
- EGR valve connector terminal A and PCM connector terminal 2N to ground
- EGR valve connector terminal B and PCM connector terminal 2O to ground
- EGR valve connector terminal F and PCM connector terminal 2P to ground