Operation CHARM: Car repair manuals for everyone.
Manuals through 2025 now available!

Our trusted friends have launched a new website named LEMON, which has newer manuals. It also contains all the CHARM manuals.

LEMON is the spiritual successor to CHARM, I recommend you try it!

Link: lemon-manuals.la or lemon-manuals.org.ua

(Some people have issue connecting. LEMON is investigating. For now, use Firefox or change your DNS server)

Or, hide this message: temporarily or permanently

Procedures








Step 1








Step 2





Step 3

ENGINE REMOVAL/INSTALLATION [KL]
Procedure

1. Disconnect the negative battery cable.
2. Drain the engine coolant and ATF.
3. Remove the hood and front wheels.
4. Remove in the order indicated in the table.
5. Install in the reverse order of removal.
6. Start the engine and:
1. Inspect for the engine oil, ATF, and engine coolant leakage.
2. Verify the ignition timing and idle speed.
3. Verify the idle speed.
4. Inspect the exhaust system.
7. Stop the engine and inspect the drive belt deflection.
8. Perform a road test.
9. Inspect for the engine oil, ATF, and engine coolant levels again.

A/C Compressor Removal Note
1. Remove the A/C compressor with the hoses still connected.
2. Position the compressor away from the engine and affix it with wire.

P/S Oil Pump Removal Note
1. Remove the P/S oil pump with the hoses still connected.
2. Position the pump away from the engine and affix it with wire.

No.1 Engine Mount Stay Removal Note





1. Remove the No.1 engine mount stay.

No.1 Engine Mount Bracket Removal Note





1. Suspend the engine using the SST





2. Remove the No.1 engine mount bracket.

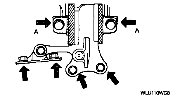
Engine Mount Member Removal Note





1. Remove No.2 engine mount nuts A.
2. Remove engine mount member bolts B.
3. Remove the engine mount member.

No.4 Engine Mount Bracket Removal Note
1. Remove the engine and transaxle from the SST (Engine support) and securely support it with the chain block.





2. Slightly lift up the engine and transaxle until No.3 and No.4 engine mounts are free from the engine weight.

Caution: Engine load can damage the No.4 engine mount bolt A holes when removing the bolts.





3. Remove the No.4 engine mount bracket.

No.3 Engine Mount Sub Bracket Removal Note





1. Remove the No.3 engine mount sub bracket nuts.
2. Remove the No.3 engine mount sub bracket.

Engine and Transaxle Removal Note





1. Slowly lift up the engine and transaxle as a unit. Keep the engine from swinging or bumping into components in the engine compartment.

Engine and Transaxle Installation Note





1. Loosen No. 4 engine mount bracket nuts C.
2. Hand tighten No.4 engine mount bracket nuts C.





3. Slowly lower the engine and transaxle as a unit. Keep the engine from swinging or bumping into components it the engine compartment.

No-3 Engine Mount Sub Bracket Installation Note
1. Install the No.3 engine mount sub bracket.





2. Hand tighten No.3 engine mount sub bracket nuts D.

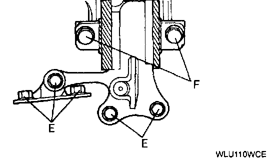
No.4 Engine Mount Bracket Installation Note





1. Install the No.4 engine mount bracket.
Tightening torque E: 44 - 60 Nm (4.4 - 6.2 kgf-m, 32 - 44 ft. lbs.)
2. Hand tighten No.4 engine mount bracket bolts F.

Engine Mount Member Installation Note





1. Remove the engine and transaxle from the chain block and securely support it with the SST (engine support).





2. Install engine mount member bolts B.
Tightening torque B: 67 - 93 Nm (6.8 - 9.5 kgf-m, 50 - 68 ft. lbs.)
3. Hand tighten No.2 engine mount nuts A.

No.1 Engine Mount Bracket Installation Note





1. Install the No. 1 engine mount bracket.
Tightening torque: 75 - 104 Nm (7.6 - 10.7 kgf-m, 55.0 - 77.3 ft. lbs.)
2. Remove the SST (engine support).

No.1 Engine Mount Stay Installation Note





1. Install the No.1 engine mount stay.
Tightening torque
G: 6.87 - 9.80 Nm (70 - 100 kgf-cm, 60.8 - 86.7 inch lbs.)
H: 75 - 104 Nm (7.6 - 10.7 kgf-m, 55.0 - 77.3 ft. lbs.)





2. Tighten No.2 engine mount nuts A.
Tightening torque: 75 - 104 Nm (7.6 - 10.7 kgf-m, 55.0 - 77.3 ft. lbs.)





3. Tighten No.3 engine mount sub bracket nuts D.
Tightening torque D: 75 - 104 Nm (7.6 - 10.7 kgf-m, 55.0 - 77.3 ft. lbs.)





4. Tighten No.4 engine mount nuts C and bolts F.
Tightening torque C, F: 67 - 93 Nm (6.8 - 9.5 kgf-m, 50 - 68 ft. lbs.)