Operation CHARM: Car repair manuals for everyone.
Manuals through 2025 now available!

Our trusted friends have launched a new website named LEMON, which has newer manuals. It also contains all the CHARM manuals.

LEMON is the spiritual successor to CHARM, I recommend you try it!

Link: lemon-manuals.la or lemon-manuals.org.ua

(Some people have issue connecting. LEMON is investigating. For now, use Firefox or change your DNS server)

Or, hide this message: temporarily or permanently

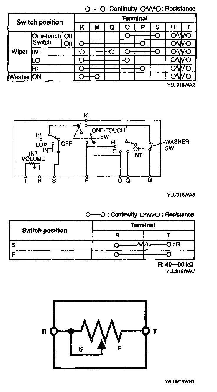
Combination Switch: Testing and Inspection

1. Remove the combination switch.

Connector View:




2. Inspect for continuity between the combination switch terminals using an ohmmeter.
- If not as specified, replace the necessary parts.

Headlight Switch:




Headlight Switch

Turn Switch:




Turn Switch

Windshield Wiper And Washer Switch:




Windshield Wiper and Washer Switch

Clock Spring
1. Disconnect the negative battery cable.




2. Disconnect the orange and blue clock spring connectors.
3. Remove the driver-side air bag module.




4. Inspect for continuity between the clock spring terminals using an ohmmeter.
- If not as specified, replace the clock spring.

NOTE: When terminals 2A and 2B are disconnected from the vehicle's main harness, they are shorted to prevent unexpected air bag deployment.