Operation CHARM: Car repair manuals for everyone.
Manuals through 2025 now available!

Our trusted friends have launched a new website named LEMON, which has newer manuals. It also contains all the CHARM manuals.

LEMON is the spiritual successor to CHARM, I recommend you try it!

Link: lemon-manuals.la or lemon-manuals.org.ua

(Some people have issue connecting. LEMON is investigating. For now, use Firefox or change your DNS server)

Or, hide this message: temporarily or permanently

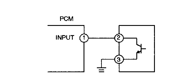
Vehicle Speed Sensor (VSS)

Vehicle Speed Sensor:




Vehicle speed sensor (VSS)
1. Measure the #1 PCM terminal voltage and confirm that it is at 0 V or 5 V when the ignition switch is on and the engine is at idle.
- If it is at 0 V or 5 V, proceed to symptom troubleshooting No.29 "Intermittent Concerns".
- If not, inspect for the following points concerning the PCM connector.
- If there are no problems, proceed to next step.
- Female terminal opening looseness
- Coupler (pin holder) damage
- Pin discoloration (blackness)
- Harness/pin crimp is loose or disconnected.

2. Measure the #2 sensor terminal voltage and confirm that it is at 0 V or 5 V when the ignition switch is on and the engine is at idle.
- If it is at 0 V or 5 V, proceed to symptom troubleshooting No.29 "Intermittent Concerns".
- If not, inspect for the following points concerning the sensor connector.
- If there are no problems, proceed to next step.
- Female terminal opening looseness
- Coupler (pin holder) damage
- Pin discoloration (blackness)
- Harness/pin crimp is loose or disconnected.

3. Confirm that the #3 terminal switch voltage is at 0 V.
- If it is at 0 V, inspect the sensor. If necessary, replace the sensor.
- If not, inspect for the following:
- Open circuit in harness
- Female terminal opening looseness
- Coupler (pin holder) damage
- Pin discoloration (blackness)
- Harness/pin crimp is loose or disconnected.