Operation CHARM: Car repair manuals for everyone.
Manuals through 2025 now available!

Our trusted friends have launched a new website named LEMON, which has newer manuals. It also contains all the CHARM manuals.

LEMON is the spiritual successor to CHARM, I recommend you try it!

Link: lemon-manuals.la or lemon-manuals.org.ua

(Some people have issue connecting. LEMON is investigating. For now, use Firefox or change your DNS server)

Or, hide this message: temporarily or permanently

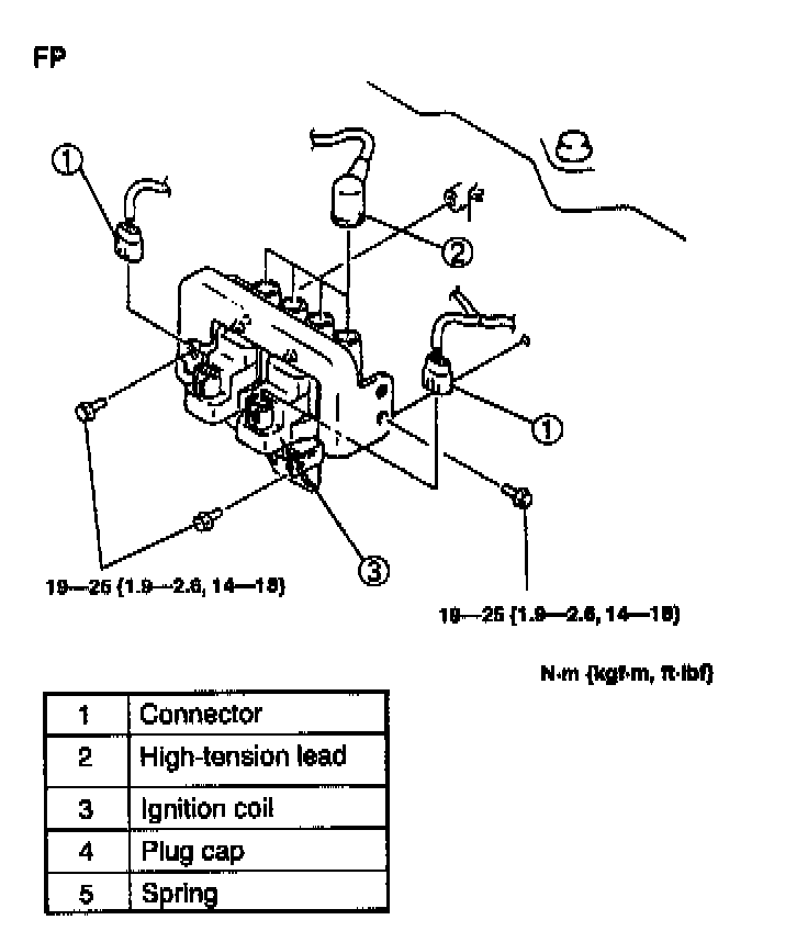
Ignition Coil: Service and Repair

CAUTION: Disconnecting the ignition coil and plug cap can tear the plug cap off and cause damage to the connecting part. Disconnect the ignition coil and plug cap only when each component needs to be replaced, and be careful not to tear and damage them.

1. Disconnect the negative battery cable.

ZM/1.6L:




FP/1.8L:




2. Remove in the order indicated in the table.
3. Install in the reverse order of removal.