Operation CHARM: Car repair manuals for everyone.
Manuals through 2025 now available!

Our trusted friends have launched a new website named LEMON, which has newer manuals. It also contains all the CHARM manuals.

LEMON is the spiritual successor to CHARM, I recommend you try it!

Link: lemon-manuals.la or lemon-manuals.org.ua

(Some people have issue connecting. LEMON is investigating. For now, use Firefox or change your DNS server)

Or, hide this message: temporarily or permanently

Alarm Module: Service and Repair

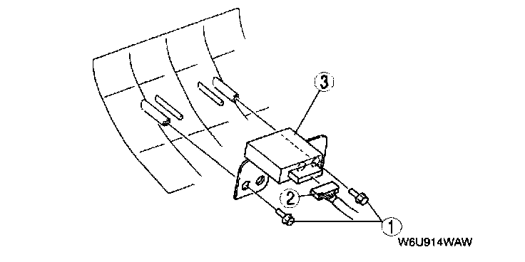
IMMOBILIZER UNIT REMOVAL/INSTALLATION

1. Disconnect the negative battery cable.
2. Remove the driver's side side panel.
3. Remove the lower panel.




4. Remove in the order as indicated below.
1. Bolt
2. Connector
3. Immobilizer unit

5. Install in the reverse order of removal.

CAUTION: After replacing the immobilizer unit with a new one, the engine cannot be started without reprogramming the ID number of the keys and the code word of the new immobilizer unit. Input the ID number and code word. (See IMMOBILIZER SYSTEM REPROGRAMMING PROCEDURE.)