Operation CHARM: Car repair manuals for everyone.
Manuals through 2025 now available!

Our trusted friends have launched a new website named LEMON, which has newer manuals. It also contains all the CHARM manuals.

LEMON is the spiritual successor to CHARM, I recommend you try it!

Link: lemon-manuals.la or lemon-manuals.org.ua

(Some people have issue connecting. LEMON is investigating. For now, use Firefox or change your DNS server)

Or, hide this message: temporarily or permanently

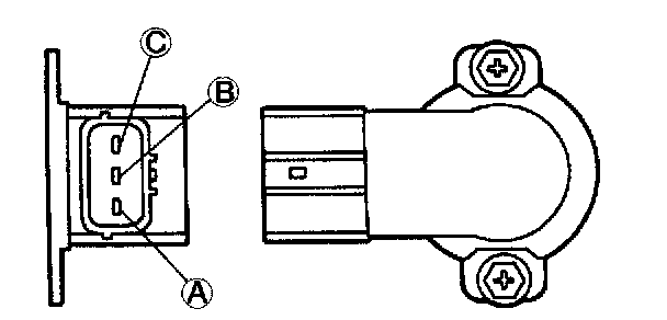
Throttle Position Sensor: Adjustments

CAUTION:
- The throttle position sensor is adjusted at the factory before shipment. Unnecessary adjustment will negatively affect the engine performance.
- Adjusting the throttle position sensor by using the throttle adjusting screw (TAS) will negatively affect the engine performance.

1. Verify that the throttle valve is at the closed throttle position.
2. Disconnect the throttle position sensor connector.
3. Turn the ignition switch to ON.




4. Measure the voltage at harness side connector terminal A by using a voltmeter and record it.

Specification: 4.5 - 5.5 V

5. Turn the ignition switch to OFF.
6. Connect the throttle position sensor connector.




7. Loosen the attaching screws.
8. If the SST (104 Pin Breakout Box) is used, check in the following order.
1. Disconnect the PCM connector.




2. Connect the SST (104 Pin Breakout Box) to the PCM as shown.
3. Tighten the connector bolt.

Tightening torque: 1.9 - 10.7 N.m {80 - 100 kgf.cm, 69.5 - 95.4 in.lbf}

4. Verify that the throttle valve is at the closed throttle position.
5. Turn the ignition switch to ON.

Specification (At Closed Throttle Position):




6. Rotate the throttle linkage by hand and adjust the PCM terminal 89 voltage to specification.
7. Tighten the attaching screws.

Tightening torque: 1.6 - 2.3 N.m {16 - 24 kgf.cm, 14 - 21 in.lbf}

Specification (At Wide Open Throttle):




8. When the throttle valve is at the wide open throttle, verify that the PCM terminal 89 voltage is in the specification.
- If not as specified, check related wiring harness.
- If they are okay, replace the throttle body.

9. If the SSTs (NGS tester) are used, check in the following order.




1. Connect the SSTs (NGS tester) to the data link connector.
2. Verify that the throttle valve is at the closed throttle position.
3. Turn the ignition switch to ON.
4. Select the "PID/DATA MONITOR AND RECORD" function on the NGS tester display and press TRIGGER.

Specification (At Closed Throttle Position):




5. Select "TP V" on the NGS tester display and press START. The NGS tester measures and shows the voltage.
6. Tighten the attaching screws.

Tightening torque: 1.6 - 2.3 N.m {16 - 24 kgf.cm, 14 - 21 in.lbf}

Specification (At Wide Open Throttle):




7. When the throttle valve is at the wide open throttle, verify that the "TP V" voltage is in the specification.
- If not as specified, check related wiring harness.
- If they are okay, replace the throttle body.