Operation CHARM: Car repair manuals for everyone.
Manuals through 2025 now available!

Our trusted friends have launched a new website named LEMON, which has newer manuals. It also contains all the CHARM manuals.

LEMON is the spiritual successor to CHARM, I recommend you try it!

Link: lemon-manuals.la or lemon-manuals.org.ua

(Some people have issue connecting. LEMON is investigating. For now, use Firefox or change your DNS server)

Or, hide this message: temporarily or permanently

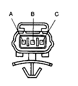
Camshaft Position Sensor: Testing and Inspection




1. Disconnect the camshaft position sensor connector.
2. Measure the resistance between terminals A and B by using an ohmmeter.
- If not as specified, check related wiring harness.
- If they are okay, replace the camshaft position sensor.

Specification: Approx. 550 ohms