Operation CHARM: Car repair manuals for everyone.
Manuals through 2025 now available!

Our trusted friends have launched a new website named LEMON, which has newer manuals. It also contains all the CHARM manuals.

LEMON is the spiritual successor to CHARM, I recommend you try it!

Link: lemon-manuals.la or lemon-manuals.org.ua

(Some people have issue connecting. LEMON is investigating. For now, use Firefox or change your DNS server)

Or, hide this message: temporarily or permanently

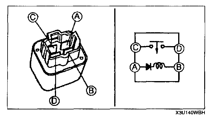
Component Inspection

NOTE: Perform the following test only when directed.

Continuity Inspection

1. Disconnect the negative battery cable.




2. Remove the main relay.







3. Inspect for continuity between main relay terminals using an ohmmeter.
- If not as specified, replace the main relay.
- If the main relay is okay, but PCM terminal 71 or 97 voltage is out of specification, perform the "Circuit Open/Short Inspection".

Circuit Open/Short Inspection

1. Remove the PCM.




2. Connect the SST (104 Pin Breakout Box) with the PCM disconnected.
3. Tighten the connector attaching bolt.

Tightening torque
3.0 - 5.4 N.m {30 - 56 kgf.cm, 27 - 48 in.lbf}




4. Inspect the following wiring harness for open or short (Continuity check).

Open circuit
- If there is no continuity, the circuit is open Repair or replace the harness.
- Main relay terminal A (harness-side) and ignition switch (IG1)
- Main relay terminal C (harness-side) and battery positive terminal
- Main relay terminal B (harness-side) and battery negative terminal

Short circuit
- If there is continuity, the circuit is shorted. Repair or replace the harness.
- Main relay terminal A (harness-side) and body ground
- Main relay terminal C (harness-side) and body ground