Operation CHARM: Car repair manuals for everyone.
Manuals through 2025 now available!

Our trusted friends have launched a new website named LEMON, which has newer manuals. It also contains all the CHARM manuals.

LEMON is the spiritual successor to CHARM, I recommend you try it!

Link: lemon-manuals.la or lemon-manuals.org.ua

(Some people have issue connecting. LEMON is investigating. For now, use Firefox or change your DNS server)

Or, hide this message: temporarily or permanently

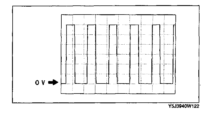
Engine Speed Signal




Engine speed signal
- PCM terminal: 3O (+) <-> 4A (-)
- Oscilloscope setting: 2.0 V/DIV(Y), 20 ms/DIV(X), DC range
- Vehicle condition: Idle